Operation CHARM: Car repair manuals for everyone.
Manuals through 2025 now available!

Our trusted friends have launched a new website named LEMON, which has newer manuals. It also contains all the CHARM manuals.

LEMON is the spiritual successor to CHARM, I recommend you try it!

Link: lemon-manuals.la or lemon-manuals.org.ua

(Some people have issue connecting. LEMON is investigating. For now, use Firefox or change your DNS server)

Or, hide this message: temporarily or permanently

Disassembly and Reassembly




Transfer Assembly Disassembly and Reassembly

Transfer Dismounting and Remounting

Transfer Assembly Components

NOTE:

Some parts are intended to be replaced as a set. If you replace these parts individually, rather than as a set, performance may be adversely affected.

Always replace the following parts as a set or in an assembly.

- Bevel gear and pinion
- Inner and outer races of a taper roller bearing

Disassembly

1) Remove intermediate shaft. Intermediate Shaft Disassembly and Reassembly
2) Remove transfer output retainer assembly (2) and shim (3).











3) Disassemble transfer output retainer. Transfer Output Retainer Assembly Disassembly and Reassembly
4) Separate transfer right case (2) from transfer left case (3).











5) Remove reduction drive gear assembly (1) and reduction driven gear assembly (2) from transfer left case (3).





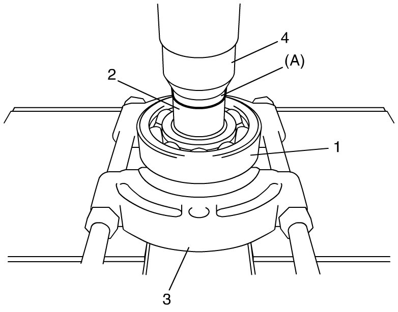
6) Use special tool, bearing puller (3) and hydraulic press (4) to remove both sides of bearings (1).
Special Tool

(A): 09913-85230





7) Use special tool, bearing puller (3) and hydraulic press (4) to remove left bearing (1) and bevel gear (2) from reduction driven gear.
Special Tool

(A): 09925-98221





8) Grind portion "a" of right bearing (1) using grinder (3) as shown.

NOTE:
If you grind the bearing too much, you will damage the reduction driven gear.

Limit the amount of grinding to the minimum amount necessary.









9) Use chisel (1) to break the thinnest portion of bearing inner race (2) and remove bearing.





10) Remove bearing outer race (1) and shim (2) from transfer left case (3).





11) Remove bearing outer race (1) and shim (2) from transfer right case (3).





12) Remove oil strainer from transfer right case.
13) Remove oil pump outer cover bolts (1) and then remove following parts from transfer right case (6).
- Oil pump outer cover (2)
- Oil pump outer rotor (3)
- Oil pump inner rotor (4)
- Oil pump drive pin (5)





14) Use special tool to remove oil seal (1) from transfer right case (2).
Special Tool
09913-50121





15) Use special tool to remove oil seal (1) from transfer left case (2).
Special Tool
09913-50121





Reassembly

1) Use special tool to install new oil seal (2) to transfer left case (1) directing oil seal lip as shown.
Special Tool
09913-85210

2) Use special tools to install new oil seal (3) to transfer left case directing oil seal lip as shown.
Special Tool

(A): 09924-74510

(B): 09944-88210





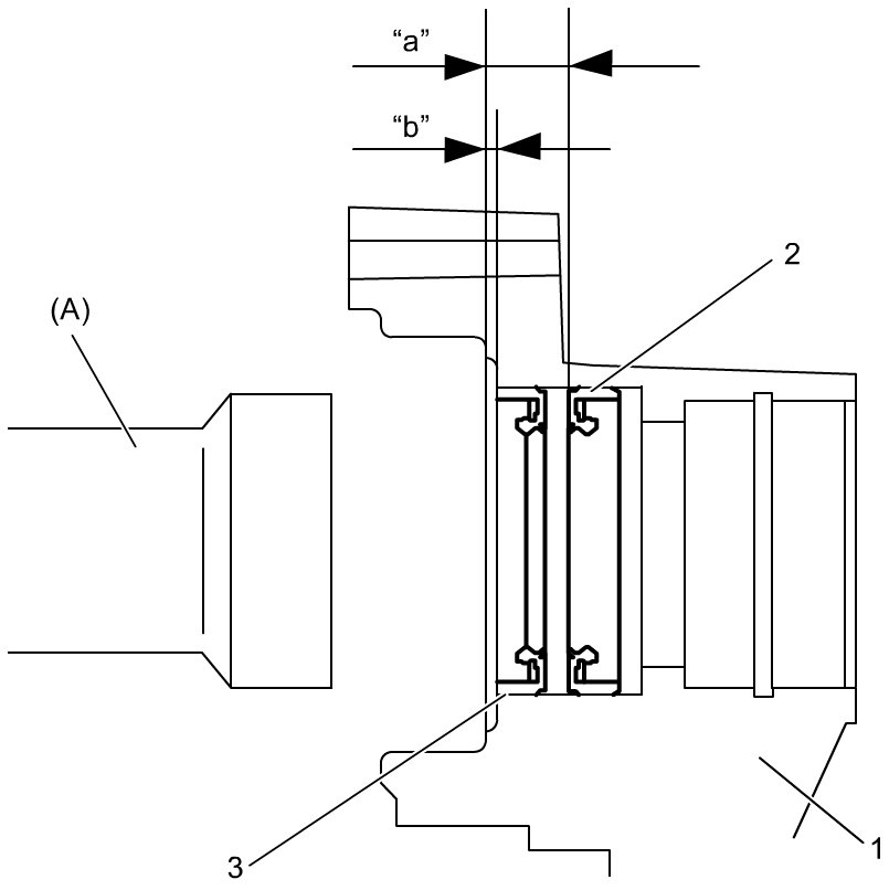
3) Use special tool to install new oil seal (2) to transfer right case (1) directing oil seal lip as shown until depth reaches "a".

Oil seal (outer) installing depth
"a": 16 - 17 mm (0.6 - 0.7 in.)

Special Tool
09925-15410

4) Use special tool to install new oil seal (3) to transfer right case directing oil seal lip as shown until depth reaches "b".

Oil seal (inner) installing depth
"b": 3 - 4 mm (0.1 - 0.2 in.)

Special Tool

(A): 09925-15410





5) Apply grease to lip of all installed oil seals.

Grease: 99000-25011 (SUZUKI Super Grease A)

6) Install following parts to transfer right case (5).
- Oil pump inner rotor (1)
- Oil pump outer rotor (2)
- Oil pump outer cover (3)
- Oil pump drive pin (4)
7) Tighten new oil pump outer cover bolts (6) to specified torque.

NOTE:
The oil pump cover bolts are pre-coated with adhesive. If these bolts are reused, they may work loose.

Be sure to replace the oil pump cover bolts with new ones whenever they are removed.

Tightening torque
Oil pump outer cover bolt (a): 8.0 Nm (0.82 kgf-m, 6.0 lbf-ft)





8) Install new O-ring and oil strainer to transfer right case.
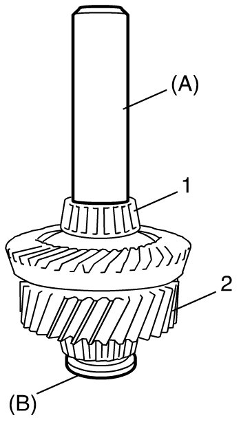
9) Use special tools and hydraulic press to install right bearing (1) to reduction driven gear (2).
Special Tool

(A): 09924-74510

(B): 09924-07730





10) Use special tools and hydraulic press to install bevel gear (1) to reduction driven gear (2).
Special Tool

(A): 09924-07710

(B): 09924-84510-005

(C): 09925-15410





11) Use special tools and hydraulic press to install left bearing (1) to reduction driven gear (2).
Special Tool

(A): 09913-84510

(B): 09924-84510-005





12) Use special tool, bearing puller (3) and hydraulic press (4) to install bearings (1) to reduction drive gear (2).
Special Tool

(A): 09913-85230





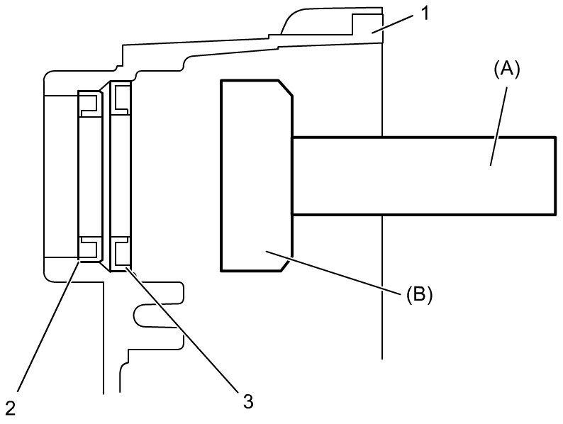
13) Select reduction driven gear shim using the following procedures:
a) Calculate thickness of shim "e" with calculating formula.
"e" = ("b" + "c") - "a" + 0.1 mm (0.004 in.)
- "a": distance between outer race end of reduction driven gear bearings (mm (in.))
- "b": depth of bearing retaining surface on transfer left case (2) (mm (in.))
- "c": depth of bearing retaining surface on transfer right case (3) (mm (in.))











b) Select a shim which is close to half thickness of the calculated value (necessary shim thickness) from among the available shims to install it between bearing and case at each of right and left sides.

Available reduction driven gear left shim (2) thickness






Available reduction driven gear right shim (4) thickness


















c) Install reduction driven gear (1) to transfer left case (2).

NOTE:
Do not install reduction drive gear yet.





d) Install transfer right case (1) to left case and tighten transfer case bolts (2) to specified torque.

NOTE:
Do not apply sealant to mating surface of transfer left case (3) and transfer right case in this stage.

Tightening torque
Transfer case bolt (a): 23 Nm (2.3 kgf-m, 17.0 lbf-ft)





e) Install shim (1) selected in Transfer Output Retainer Assembly Disassembly and Reassembly Transfer Output Retainer Assembly Disassembly and Reassembly
and transfer output retainer (2) to transfer case (3) and tighten retainer bolts (4) to specified torque.

Tightening torque
Transfer output retainer bolt (a): 55 Nm (5.6 kgf-m, 40.5 lbf-ft)





f) Use dial gauge to measure play of flange (2) rotative direction. If check result is not specified, change distribution of reduction driven gear right and left shims installed on transfer left case and transfer right case in Step b) and measure its play again.

Bevel pinion & bevel gear backlash
: 0.1 - 0.2 mm (0.04 - 0.08 in.)

Special Tool

(A): 09900-20607









g) Remove transfer output retainer and inspect teeth contact of bevel gear (1).
i) After cleaning tooth surface of bevel gear, paint them with gear marking compound evenly by using brush or sponge etc.
ii) Install shim selected in Transfer Output Retainer Assembly Disassembly and Reassembly Transfer Output Retainer Assembly Disassembly and Reassembly
and transfer output retainer to transfer case and tighten retainer bolts to specified torque.

Tightening torque
Transfer output retainer bolt (a): 55 Nm (5.6 kgf-m, 40.5 lbf-ft)

iii) Turn transfer output flange clockwise and counterclockwise repeatedly, and remove transfer output retainer assembly and shim from transfer assembly.
iv) Bring painted part up and check contact pattern referring to the following chart. If contact pattern is not normal, readjust or replace if necessary according to instruction in chart.






NOTE:
- Be careful not to turn bevel gear more than one full revolution, for it will hinder accurate check.
- If bevel gear backlash and bevel pinion shims are adjusted properly, correct tooth contact should be provided.
If correct tooth contact is not provided even when they are adjusted properly, however, there may be an abnormal condition in warm tooth, transfer case or retainer. Check each component and replace if necessary.

Gear tooth contact table









14) Separate transfer right case from transfer left case.
15) Install reduction drive gear assembly (1) and reduction driven gear assembly (2) to transfer left case (3).
16) Clean mating surface of right and left cases, and apply sealant to right case as shown in figure.

"A" Sealant: 99000-31260 (SUZUKI Bond No.1217G)





17) Install transfer right case (1) to transfer left case (3) and tighten transfer case bolts (2) to specified torque.

Tightening torque
Transfer case bolt (a): 23 Nm (2.3 kgf-m, 17.0 lbf-ft)









18) Install shim (1) selected in Transfer Output Retainer Assembly Disassembly and Reassembly Transfer Output Retainer Assembly Disassembly and Reassembly
and transfer output retainer (2) to transfer case (3) and tighten retainer bolts (4) to specified torque.

Tightening torque
Transfer output retainer bolt (a): 55 Nm (5.6 kgf-m, 40.5 lbf-ft)