Operation CHARM: Car repair manuals for everyone.
Manuals through 2025 now available!

Our trusted friends have launched a new website named LEMON, which has newer manuals. It also contains all the CHARM manuals.

LEMON is the spiritual successor to CHARM, I recommend you try it!

Link: lemon-manuals.la or lemon-manuals.org.ua

(Some people have issue connecting. LEMON is investigating. For now, use Firefox or change your DNS server)

Or, hide this message: temporarily or permanently

Transfer Output Retainer Assembly Disassembly and Reassembly




Transfer Output Retainer Assembly Disassembly and Reassembly

Transfer Dismounting and Remounting

Transfer Assembly Components

NOTE:

Some parts are intended to be replaced as a set. If you replace these parts individually, rather than as a set, performance may be adversely affected.

Always replace the following parts as a set or in an assembly.

- Bevel gear and pinion
- Inner and outer races of a taper roller bearing

Disassembly

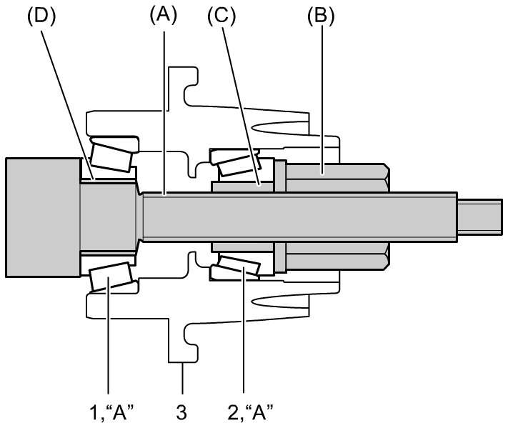
1) Remove transfer output retainer bolts (1) and transfer output retainer assembly (2) and shim (3).





2) Remove O-ring from transfer output retainer.
3) Loosen transfer output flange nut while locking flange (1) with special tool.
Special Tool

(A): 09930-40113





4) Use special tool to remove transfer output flange (1).
Special Tool

(A): 09913-65135





5) Remove bevel pinion from transfer output retainer by tapping it with plastic hammer.
6) Remove spacer (1) from bevel pinion (2).





7) Remove front taper roller bearing (3) from bevel pinion (4) by using bearing puller (1) and hydraulic press (2).





8) Remove oil seal from transfer output retainer.
9) Remove rear taper roller bearing (1) from transfer output retainer (2).





10) Remove outer races (front (2) and rear (3)) by using brass bar (1).











Reassembly

1) Press-fit outer races (front and rear) by using special tools and hydraulic press.
Special Tool

(A): 09913-75520

(B): 09913-75510









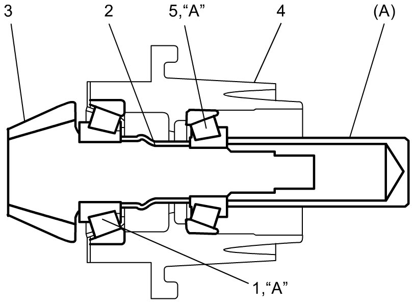
2) Select transfer output retainer shim using the following procedures:
a) Apply gear oil "A" to taper roller bearing (front (1) and rear (2)).
b) Install taper roller bearing (front and rear) and special tools (pinion dummy) to transfer output retainer (3).

NOTE:
Special tools (A) - (D) are included in differential adjuster set (09922-76110).

Special Tool

(A): 09922-76140

(B): 09922-76150

(C): 09922-76340

(D): 09922-76420





c) Tighten bevel pinion nut (special tool) so that specified bearing preload is obtained.

NOTE:
Before preload measurement with torque wrench, rotate special tool more than 15 revolutions by hand.

Rotational torque of bevel pinion (Bearing preload)
0.5 - 1.3 Nm (0.05 - 0.13 kgf-m, 0 - 1.0 lbf-ft) (rotational speed about 50 rpm)









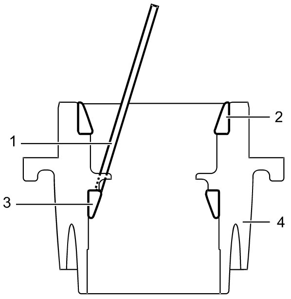
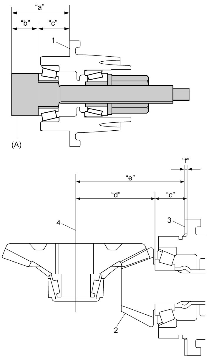
d) Calculate thickness of shim "f" with calculating formula.
"f" = "c" + "d" - "e"
- "c" = "a" - "b"
- "a": height from transfer output retainer installation surface (1) to pinion dummy top (mm (in.))
- "b": pinion dummy height (40 mm (1.5748 in.))
- "d": mounting distance of bevel pinion (2) (70.00 mm (2.7559 in.))
- "e": distance between transfer output retainer installation surface (3) and bevel gear center line (4) (100.95 mm (3.9744 in.))
Special Tool

(A): 09922-76140





e) Select a shim closest to the calculated value (necessary shim thickness) from among the available shims or combine shims to become closest to calculated value.

Available transfer output retainer shim thickness






3) Press-fit front taper roller bearing (2) to bevel pinion (3) by using special tool and hydraulic press (1).
Special Tool

(A): 09913-84510





4) Apply gear oil "A" to front taper roller bearing (1).
5) Install bevel pinion (3) with new spacer (2) to transfer output retainer (4).
6) Apply gear oil "A" to rear taper roller bearing (5).
7) Install rear taper roller bearing to bevel pinion by using special tool tapping lightly with plastic hammer.
Special Tool

(A): 09913-84510





8) Apply grease to new oil seal (1) lip.

"A" Grease: 99000-25011 (SUZUKI Super Grease A)

9) Install oil seal in transfer output retainer (2) by using special tool and hammer.
Special Tool

(A): 09913-85210

Transfer output flange oil seal installing depth
"g": 23.0 - 24.0 mm (0.90 - 0.94 in.)





10) Install transfer output flange (1) by tapping with plastic hammer and tighten new transfer output flange nut gradually so as rotational torque of bevel pinion to be in specified value.

NOTE:
The transfer output flange nut is precoated with adhesive. If an overtightened nut is loosened to the specified torque and is used as it is, the nut may loosen.

To tighten the transfer output flange nut, tighten the nut slowly and carefully while measuring the pinion preload, until the specified pinion preload is obtained. Never loosen the nut.

If the nut is overtightened, replace the spacer and nut and then tighten the nut.

NOTE:
Before preload measurement with torque wrench, rotate special tool more than 15 revolutions by hand.

Bevel pinion bearing preload
: 0.5 - 1.3 Nm (0.05 - 0.13 kgf-m, 0 - 1.0 lbf-ft) (rotational speed about 50 rpm)

Tightening torque
Transfer output flange nut 100 - 300 Nm (10.2 - 30.6 kgf-m, 74.0 - 221.5 lbf-ft)

Special Tool

(A): 09930-40113













11) Apply grease to new O-ring (1), and install it to transfer output retainer (2).

"A" Grease: 99000-25011 (SUZUKI Super Grease A)