Operation CHARM: Car repair manuals for everyone.
Manuals through 2025 now available!

Our trusted friends have launched a new website named LEMON, which has newer manuals. It also contains all the CHARM manuals.

LEMON is the spiritual successor to CHARM, I recommend you try it!

Link: lemon-manuals.la or lemon-manuals.org.ua

(Some people have issue connecting. LEMON is investigating. For now, use Firefox or change your DNS server)

Or, hide this message: temporarily or permanently

Windshield Washer Reservoir: Service and Repair




Washer Tank and Washer Pump Removal and Installation

Removal

1) Remove right headlight unit. Removal and Replacement
2) Disconnect washer pump connector (1) and washer hose (2).
3) Remove washer tank bolts (3) and remove washer tank (4).





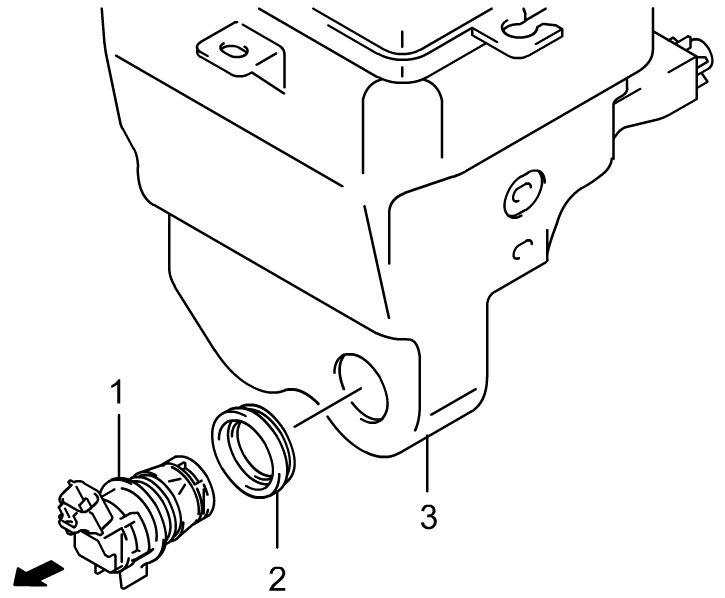
4) Pull washer pump (1) together with washer pump grommet (2) in direction of arrow to remove them from washer tank (3).






Installation

Washer Pump Inspection

Reverse removal procedure noting the following points.

- Tighten washer tank bolts in numerical order ("1" through "3") to specified torque.

Tightening torque
Washer tank bolt (a): 6.0 Nm (0.61 kgf-m, 4.5 lbf-ft)





- Aim headlights after installing washer pump and tank.