Keyless Entry Receiver: Service and Repair
REPLACE DOOR CONTROL RECEIVER AND TRANSMITTERNOTE: When replacing the door control receiver and transmitter, registration of recognition code is necessary because they are provided as single components.
A. Select which operation mode should be performed from the following modes.
Add mode
Rewrite mode
Prohibition mode
Confirmation mode
HINT:
- The add mode is used to retain codes already registered while you register new recognition codes. This mode is used when adding a transmitter. However, if the number of registered codes exceeds 4 codes, previously registered codes are correspondingly erased in order, starting from the first registered code.
- The rewrite mode is used to erase all previously registered codes and register only new recognition codes.
- The prohibition mode is used to erase all registered codes and cancels the wireless door lock function. Use this mode when the transmitter is lost.
- The confirmation mode is for confirming how many recognition codes are already registered before you register additional recognition codes.
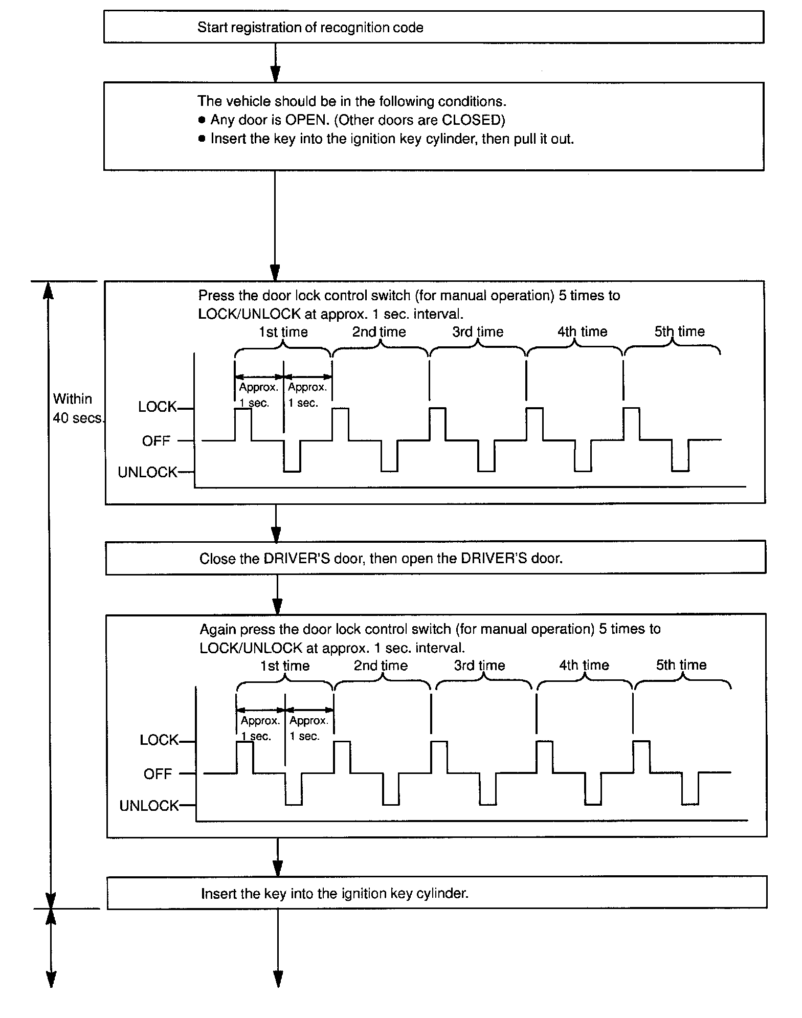
B. Follow the charts to register the transmitter recognition code at the wireless door lock control receiver.
Part 1:
Part 2:
Part 3:
HINT:
- When procedure is out of the specified, the operation returns to normal operation.
- Maximum 4 recognition codes can be registered.