Operation CHARM: Car repair manuals for everyone.
Manuals through 2025 now available!

Our trusted friends have launched a new website named LEMON, which has newer manuals. It also contains all the CHARM manuals.

LEMON is the spiritual successor to CHARM, I recommend you try it!

Link: lemon-manuals.la or lemon-manuals.org.ua

(Some people have issue connecting. LEMON is investigating. For now, use Firefox or change your DNS server)

Or, hide this message: temporarily or permanently

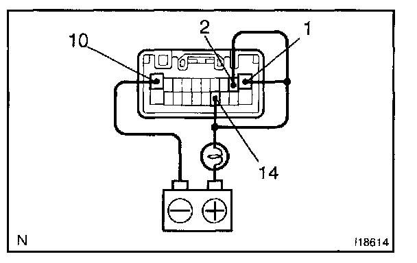
Heated Glass Control Module: Testing and Inspection




INSPECT DEFOGGER TIMER OPERATION
a. Connect the positive (+) lead from the voltmeter to terminal 1, 2 and 14 of panel switch connector and negative (-) lead to terminal 10.
b. When the switch is OFF the voltage should be approx. 12 V.




c. Turn the defogger switch ON and check that the indicator lights up and that the voltage is less than 1 V.
d. After 15 minutes, check that the switch is OFF and the voltage is approx. 12 V.
If operation is not as specified, replace the switch.