Operation CHARM: Car repair manuals for everyone.
Manuals through 2025 now available!

Our trusted friends have launched a new website named LEMON, which has newer manuals. It also contains all the CHARM manuals.

LEMON is the spiritual successor to CHARM, I recommend you try it!

Link: lemon-manuals.la or lemon-manuals.org.ua

(Some people have issue connecting. LEMON is investigating. For now, use Firefox or change your DNS server)

Or, hide this message: temporarily or permanently

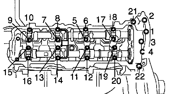
Engine Torque and Sequence

Part 1 Of 2:




Part 2 Of 2:





TORQUE SPECIFICATION


Cylinder Head





Torque 32 Nm (325 kgf-cm, 24 ft. lbs.)Initial +90 +90

Intake Manifold
Torque 18 Nm (185 kgf-cm, 13 ft. lbs.)

Camshaft Bearing Cap





Torque:
Bolt A 7.5 Nm (80 kgf-cm, 69 inch lbs.)
Others 16 Nm (160 kgf-cm, 12 ft. lbs.)

Main bearing cap x Cylinder block
1st 27 Nm (275 kgf-cm, 20 ft. lbs.)
2nd Turn 90° (Turn 90°, Turn 90°)

Connecting rod cap x Connecting rod
1st 24.5 Nm (250 kgf-cm, 18 ft. lbs.)
2nd Turn 90 (Turn 90°, Turn 90°)

Crankshaft pulley x Crankshaft
Torque 245 Nm (2,500 kgf-cm, 181 ft. lbs.)

Drive plate x Crankshaft
1st 49 Nm (500 kgf-cm, 36 ft. lbs.)
2nd Turn 90° (Turn 90°, Turn 90°)

Oil pump x Cylinder block
14 mm head 30.5 Nm (310 kgf-cm 22 ft. lbs.)
Others 15.5 Nm (160 kgf-cm 11 ft. lbs.)

Exhaust Manifold RH
Torque 44 Nm (450 kgf-cm, 32 ft. lbs.)

Exhaust Manifold LH
Torque 44 Nm (450 kgf-cm, 32 ft. lbs.)