Operation CHARM: Car repair manuals for everyone.
Manuals through 2025 now available!

Our trusted friends have launched a new website named LEMON, which has newer manuals. It also contains all the CHARM manuals.

LEMON is the spiritual successor to CHARM, I recommend you try it!

Link: lemon-manuals.la or lemon-manuals.org.ua

(Some people have issue connecting. LEMON is investigating. For now, use Firefox or change your DNS server)

Or, hide this message: temporarily or permanently

Power Window Control System

INSPECTION




1. INSPECT POWER WINDOW MASTER SWITCH CONTINUITY




Front Driver's Switch (Window unlock):




Front Passenger's Switch (Window unlock):




Front Passenger's Switch (Window lock):
If continuity is not as specified, replace the master switch.

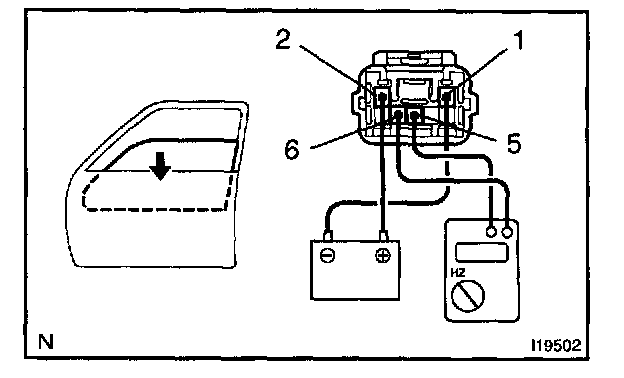
2. INSPECT POWER WINDOW MASTER SWITCH ILLUMINATION




a. Set the window lock switch to the unlock position.
b. Connect the positive (+) lead from the battery to terminal 7 and the negative (-) lead to terminal 1, and check that all the illuminations light up.




c. Set the window lock switch to the lock position, check that all the passenger's power window switch illuminations go out.
If operation is not as specified, replace the master switch.







3. INSPECT PASSENGER'S DOOR POWER WINDOW SWITCH CONTINUITY
If continuity is not as specified, replace the switch.







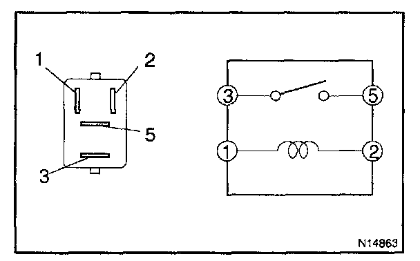
4. INSPECT POWER MAIN RELAY CONTINUITY
If continuity is not as specified, replace the switch.




5. Driver's door:
INSPECT POWER WINDOW MOTOR OPERATION
a. Connect the positive (+) lead from the battery to terminal 2 and the negative (-) lead to terminal 1, and check that the motor turns clockwise.
b. Reverse the polarity, check that the motor turns counter-clock wise.
If operation is not as specified, replace the motor.




6. Passenger's door:
INSPECT POWER WINDOW MOTOR OPERATION
a. Connect the positive (+) lead from the battery to terminal 2 and the negative (-) lead to terminal 1, and check that the motor turns clockwise.
b. Reverse the polarity, check that the motor turns counter-clock wise.
If operation is not as specified, replace the motor.




7. Driver's door:
INSPECT POWER WINDOW MOTOR PTC THERMISTOR OPERATION
a. Disconnect the connector from the power window motor.
b. Connect the positive (+) lead from the ammeter to terminal 1 on the wire harness side connector and the negative (-) lead to negative terminal of the battery.
c. Connect the positive (+) lead from the battery to terminal 2 on the wire harness side connector, and raise the window to the fully position.
d. Continue to apply voltage, and check that the current changes to less than 1 A with 4 to 90 seconds.




e. Disconnect the leads from terminals.
f. Approximately 60 seconds later, connect the positive (+) lead from the battery to terminal 1 and negative (-) lead to terminal 2, and check that the window begins to descended
If operation is not as specified, replace the motor.




8. Passenger's door:
INSPECT POWER WINDOW MOTOR PTC THERMISTOR OPERATION
a. Disconnect the connector from the power window motor.
b. Connect the positive (+) lead from the ammeter to terminal 2 on the wire harness side connector and the negative (-) lead to negative terminal of the battery.
c. Connect the positive (+) lead from the battery to terminal 2 on the wire harness side connector, and raise the window to the fully position.




d. Continue to apply voltage and check that the current changes to less than 1 A within 4 to 90 seconds.

e. Disconnect the leads from the terminals.
f. Approximately 60 seconds later, connect the positive (+) lead from the battery to terminal 1 and the negative (-) lead to terminal 2, and check that the window begins to descend.
If operation is not as specified, replace the motor.

9. INSPECT JAM PROTECTION FUNCTION

NOTE: Never, ever be caught any part of your body when checking.

HINT: In case of performing resetting of the limit switch, do checking after repeating up and down of the glass with automatic operation.

a. Confirmation of AUTO up operation:
Confirm that the window will be fully close with AUTO up operation
b. Checking of the operation of the jam protection function:
1. Move up the window with AUTO up operation and check that the window will go down when it touches the handle of the hammer stetted.
2. Confirm that the window will then stop going down about 200 mm.

HINT: In case of removing the glass, glass guide, regulator and etc. be sure to perform checking of the jam protection function. If the jam protection is not function properly, adjust power window motor reset switch and pulse switch.




10. Driver's Door:
INSPECT JAM PROTECTION LIMIT SWITCH OPERATION
a. Connect the negative (-) lead from the ohmmeter to terminal 6 and the positive (+) lead to terminal 4.
b. Connect the positive (+) lead from the battery to terminal 2 and the negative (-) lead to terminal 1.
c. Check that the continuity exists when the window goes up.




d. Check that the no continuity exists when the window is in the fully closed position.
If operation is not as specified, replace the motor.

NOTE: If connecting the wire harness wrongly, the sensor might be damaged so caution is necessary.




11. Driver's Door:
INSPECT JAM PROTECTION PULSE SWITCH OPERATION
a. Connect the positive (+) lead from the TOYOTA electrical tester to terminal 5 and the negative (-) lead to terminal 6.
b. Connect the positive (+) lead from the battery to terminal 2 and the negative (-) lead to terminal 1.




c. Check that pulse is generated during the motor running.
d. Reverse the polarity and check that pulse is generated.
If operation is not as specified, replace the motor.

NOTE: If connecting the wire harness wrongly, the sensor might be damaged so caution is necessary.

12. INSPECT JAM PROTECTION FUNCTION

NOTE: Never, ever be caught any part of your body when checking.

HINT: In case of performing resetting of the limit switch, do checking after repeating up and down of the glass with automatic operation.

a. Confirmation of AUTO up operation:
Confirm that the window will be fully close with AUTO up operation.

b. Checking of the operation of the jam protection function:
1. Move up the window with AUTO up operation and check that the window will go down when it touches the handle of the hammer stetted.
2. Confirm that the window will then stop going down about 200 mm.

HINT: In case of removing the glass, glass guide, regulator and etc. be sure to perform checking of the jam protection function. If the jam protection is not function properly, adjust power window motor reset switch and pulse switch.