Operation CHARM: Car repair manuals for everyone.
Manuals through 2025 now available!

Our trusted friends have launched a new website named LEMON, which has newer manuals. It also contains all the CHARM manuals.

LEMON is the spiritual successor to CHARM, I recommend you try it!

Link: lemon-manuals.la or lemon-manuals.org.ua

(Some people have issue connecting. LEMON is investigating. For now, use Firefox or change your DNS server)

Or, hide this message: temporarily or permanently

Computers and Control Systems: Service Precautions





1GR-FE ENGINE CONTROL: SFI SYSTEM: PRECAUTION

1. IGNITION SWITCH EXPRESSION

HINT
The type of ignition switch used on this model differs according to the specifications of the vehicle. The expressions listed in the table below are used in this section.





2. INITIALIZATION

NOTICE:
* Perform Reset Memory (A/T initialization) for 4WD when replacing the automatic transaxle assembly, engine assembly or ECM .
* Perform Reset Memory (A/T initialization) for 2WD when replacing the automatic transaxle assembly, engine assembly or ECM Programming and Relearning.
* Perform Registration (VIN registration) when replacing the ECM Programming and Relearning.
HINT
Initialization cannot be completed only by disconnecting and reconnecting the battery cable.

3. USING TECHSTREAM

CAUTION:
Observe the following items for safety reasons:

* Read the Techstream instruction books before using the Techstream.

* Make sure that the Techstream cable is not caught on the pedals, shift lever or steering wheel when driving with the Techstream connected to the vehicle.

* When driving the vehicle for testing purposes while using the Techstream, two persons are required. One person drives the vehicle and the other operates the Techstream.

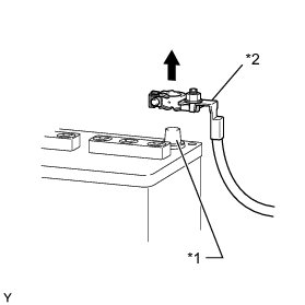
4. DISCONNECT AND RECONNECT CABLE OF NEGATIVE BATTERY TERMINAL





(a) Before performing electrical work, disconnect the cable from the negative (-) battery terminal in order to prevent short circuits and burnouts.





(b) Before disconnecting and reconnecting the battery cable, turn the ignition switch off and the headlight dimmer switch off. Then loosen the terminal nut completely. Do not damage the cable or terminal.

(c) When the battery cable is disconnected, the clock and radio settings and stored DTCs are cleared. Therefore, before disconnecting the battery cable, make a note of the settings.