Operation CHARM: Car repair manuals for everyone.
Manuals through 2025 now available!

Our trusted friends have launched a new website named LEMON, which has newer manuals. It also contains all the CHARM manuals.

LEMON is the spiritual successor to CHARM, I recommend you try it!

Link: lemon-manuals.la or lemon-manuals.org.ua

(Some people have issue connecting. LEMON is investigating. For now, use Firefox or change your DNS server)

Or, hide this message: temporarily or permanently

Installation





WINDOW / GLASS: BACK WINDOW GLASS: INSTALLATION

1. INSTALL NO. 2 BACK WINDOW GLASS STOPPER (for 2-piece Type)

(a) Using a brush or sponge, coat the application area of 2 new No. 2 back window glass stoppers with Primer G.

NOTICE:
* Do not apply too much primer.
* Allow the primer coating to dry for 3 minutes or more.
* Throw away any leftover primer.

HINT
If an area other than specified is coated by accident, wipe off the primer with a clean piece of cloth before it dries.

(b) Install the 2 new No. 2 back window glass stoppers onto the back window glass as shown in the illustration.





Text in Illustration





Standard Dimension:





HINT
Only 2-piece type No. 2 back window glass stoppers are supplied. Use the 2-piece type stoppers even if a 1-piece type was used.

2. INSTALL NO. 1 BACK WINDOW GLASS STOPPER (for 2-piece Type)

(a) Install 2 new No. 1 back window glass stoppers to the vehicle body as shown in the illustration.





HINT
Only 2-piece type back window glass stoppers are provided as supply parts. Use 2-piece type stoppers as replacements even if a 1-piece type was originally installed.

3. INSTALL BACK WINDOW OUTSIDE MOULDING

(a) Using a brush or sponge, coat the application area of a new back window outside moulding with Primer G.

NOTICE:
* Do not apply too much primer.
* Allow the primer coating to dry for 3 minutes or more.
* Throw away any leftover primer.

HINT
If an area other than specified is coated by accident, wipe off the primer with a clean piece of cloth before it dries.

(b) Install the new back window outside moulding onto the back window glass as shown in the illustration.





Text in Illustration





Standard Dimension:





4. INSTALL BACK WINDOW GLASS ADHESIVE DAM

(a) Using a brush or sponge, coat the application area of a new back window glass adhesive dam with Primer G.

NOTICE:
* Allow the primer coating to dry for 3 minutes or more.
* Do not apply too much primer.

(b) Install the new back window adhesive dam, applying double-sided tape all the way around the glass except where the dam is installed as shown in the illustration.





Text in Illustration





Standard Dimension:





NOTICE:
* Do not apply too much primer.
* Allow the primer coating to dry for 3 minutes or more.
* Do not keep any of the opened Primer G for later use.

HINT
If an area other than specified is coated by accident, wipe off the primer with a clean piece of cloth before it dries.

5. INSTALL BACK WINDOW GLASS SUB-ASSEMBLY

(a) Position the back window glass.





Text in Illustration





(1) Using suction cups, place the back window glass in the correct position.

(2) Check that the whole contact surface of the back window glass rim is perfectly even.

(3) Align the matchmarks on the back window glass and vehicle body.

NOTICE:
Check that the back window glass stoppers are attached to the vehicle body correctly.

(4) Remove the back window glass.

(b) Using a brush, coat the installation surface on the vehicle body with Primer M.





Text in Illustration





NOTICE:
* Do not coat the adhesive with Primer M.
* Do not apply too much primer.
* Allow the primer coating to dry for 3 minutes or more.
* Do not keep any of the opened Primer M for later use.

HINT
If an area other than specified is coated by accident, wipe off the primer with a clean piece of cloth before it dries.

(c) Using a brush or sponge, coat the adhesive application area with Primer G.





Text in Illustration





Standard Dimension:





NOTICE:
* Do not apply too much primer.
* Allow the primer coating to dry for 3 minutes or more.
* Do not keep any of the opened Primer G for later use.

HINT
If an area other than specified is coated by accident, wipe off the primer with a clean piece of cloth before it dries.

(d) Apply adhesive to the glass.

Adhesive:

Toyota Genuine Windshield Glass Adhesive or equivalent

(1) Cut off the tip of the cartridge nozzle as shown in the illustration.





Text in Illustration





Standard Dimension:





HINT
After cutting off the tip, use all adhesive within the time described in the table below.

Usage Time Frame:





(2) Load the sealer gun with the cartridge.

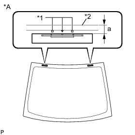
(3) Apply adhesive to the back window glass as shown in the illustration.





Text in Illustration





Standard Dimension:





(e) Install the back window glass sub-assembly.

(1) Using suction cups, position the back window glass so that the matchmarks are aligned, and press it in gently along the rim.





Text in Illustration





NOTICE:
* Check that the back window glass stoppers are attached to the vehicle body correctly.
* Check the clearance between the vehicle body and back window glass.

(2) Lightly press the front surface of the back window glass to ensure a close fit.

HINT
Press the glass with force of 98 N (10 kgf, 22.0 lbf) or more.

(3) Using a scraper, remove any excess or protruding adhesive.

(4) Hold the back window glass using protective tape until the applied adhesive becomes hard.

NOTICE:
Do not drive the vehicle for the time described in the table below.

Minimum Time:





(f) Connect each connector.

6. INSPECT FOR LEAKS AND REPAIR

(a) After the adhesive has hardened, apply water from the outside of the vehicle. Check that no water leaks into the cabin.

(b) If water leaks into the cabin, allow the water to dry and add adhesive.

(c) Remove the protective tape.

7. INSTALL PACKAGE TRAY TRIM PANEL ASSEMBLY Installation

8. INSTALL REAR SEAT SHOULDER BELT COVER Installation

9. INSTALL CHILD RESTRAINT SEAT TETHER ANCHOR COVER Installation

10. INSTALL CENTER STOP LIGHT SET Installation

11. CONNECT REAR SEAT INNER WITH CENTER BELT ASSEMBLY LH Installation

12. INSTALL CHILD RESTRAINT SEAT ANCHOR BRACKET SUB-ASSEMBLY LH Installation

13. CONNECT REAR SEAT OUTER BELT ASSEMBLY (for RH Side) Installation

14. CONNECT REAR SEAT OUTER BELT ASSEMBLY (for LH Side) Installation

15. INSTALL ROOF HEADLINING ASSEMBLY

Installation