Ignition Switch Lock Cylinder: Service and Repair
Lock Cylinder, Removing And Installing
CAUTION:
Before beginning repairs on the electrical system:
- Obtain the anti-theft radio security code.
- Switch off all electrical consumers.
- Switch ignition off and remove ignition key.
- Disconnect negative ( - ) battery terminal.
- When disconnecting and reconnecting battery terminals, observe all applicable Notes and torque specifications, as well as instructions on performing OBD program and electrical system function checks
Removing
- Disconnect battery.
- Remove steering column switches.
- Where applicable, carefully disconnect electrical connection for the induction coil for anti-theft immobilizer from lock cylinder.
NOTE: If equipped, the induction coil for anti-theft immobilizer is integrated with the lock cylinder and cannot be serviced separately.
- Insert ignition key in lock cylinder and turn to position "Drive".
Position of key in lock cylinder:
1. Position "Stop"
2. Position "Drive"
3. Position "Start"
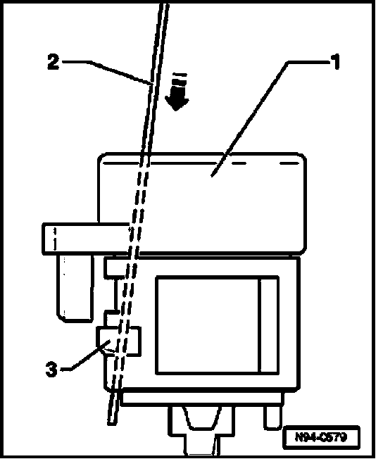
- Insert steel wire (approx. dia. 1.2 mm) in drilling next to ignition key -arrow-.
NOTE: To enable steel wire to be inserted straight into hole, ignition key may have to be dismantled and inserted into lock cylinder without key head.
- Dismantling ignition key
- Release lock cylinder securing lever using wire -arrow- and remove lock cylinder from steering lock housing.
1. Lock cylinder
2. Steel wire (approx. dia. 1.2 mm)
3. Securing lever
Installing
- Insert ignition key in lock cylinder and turn to position "Drive".
- Release securing lever using wire (approx. dia. 1.2 mm) and insert lock cylinder in steering lock housing.
NOTE: Where applicable, ensure immobilizer induction coil electrical connection orientation in lock cylinder housing guide.
- Pull wire out of lock cylinder and ensure lock cylinder is secured properly in steering lock housing.
- Where applicable, reconnect immobilizer reading coil electrical connector -arrow- to lock cylinder.
- Install steering column switches and steering wheel.
- Reconnect battery.