Operation CHARM: Car repair manuals for everyone.
Manuals through 2025 now available!

Our trusted friends have launched a new website named LEMON, which has newer manuals. It also contains all the CHARM manuals.

LEMON is the spiritual successor to CHARM, I recommend you try it!

Link: lemon-manuals.la or lemon-manuals.org.ua

(Some people have issue connecting. LEMON is investigating. For now, use Firefox or change your DNS server)

Or, hide this message: temporarily or permanently

Camshaft Position Sensor: Testing and Inspection






Diagnostic Procedures

Camshaft Position Sensor 1 G40 or Sensor 2 G163 Checking

Special tools, testers and auxiliary items required

Multimeter.

Wiring diagram.

Test requirements

The Motronic Engine Control Module (ECM) (J623) fuses OK.





Battery voltage at least 12.5 volts.

All electrical consumers such as, lights and rear window defroster, switched off.

Vehicles with automatic transmission, shift selector lever into position " P" or "N".

A/C switched off.

Ground connections between engine/transmission/chassis OK.

Ignition switched off.

Test procedure

- Observe safety precautions. Refer to => [ Safety Precautions ] Safety Precautions

- Observe Clean Working Conditions. Refer to => [ Clean Working Conditions ] Clean Working Conditions

- Perform a preliminary check to verify the customers complaint. Refer to => [ Preliminary Check ] Preliminary Check.

Start diagnosis

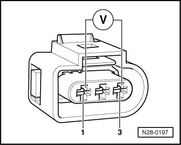
- Disconnect the Camshaft Position (CMP) Sensor electrical harness connector - 10 -.





- Switch the ignition on.

- Using a multimeter, Check the Camshaft Position (CMP) Sensor 1 (G40) - 14 -or Camshaft Position (CMP) Sensor 2 (G163) - 12 -electrical harness connector terminals 1 to 3 for voltage.





Specified value: near 5.0 V

- Switch the ignition off.

If the specification was not obtained:

Checking wiring

If the manufacturers test box is being used. Perform the following step.

- Install the test box.

If the manufacturers test box is not being used. Perform the following step.

- Remove the Motronic Engine Control Module (ECM) (J623). Refer to the Repair Information.

- Using a multimeter, Check the Camshaft Position (CMP) Sensor 1 (G40) or Camshaft Position (CMP) Sensor 2 (G163) electrical harness connector to the Motronic Engine Control Module (ECM) electrical harness connector T60 for an open circuit.













Specified value: 1.5 ohms Max.

If the specified value was not obtained:

- Check the wiring connection for an open circuit, high resistance or short circuit to voltage or ground.

- Check the wiring connection for damage, corrosion, loose or broken terminals.

- If necessary, repair the faulty wiring connection.

If no malfunction is found in the wiring and voltage supply is OK:

- Replace the Camshaft Position (CMP) Sensor 1 (G40) or Camshaft Position (CMP) Sensor 2 (G163) Refer to the Repair Information.

- Erase the DTC memory. Refer to => [ Diagnostic Mode 04 - Erase DTC Memory ] Diagnostic Modes 01 - 09.

- Perform a road test to verify repair.

If the DTC does not return:

Generate readiness code. Refer to => [ Readiness Code ] Readiness Code.

If the DTC does return, no malfunction is detected in the wiring and the voltage supply is OK:

- Replace the Motronic Engine Control Module (ECM) (J623). Refer to the Repair Information.

- Assembly is performed in the reverse of the removal.

Final procedures

After repair work, the following work steps must be performed in the mentioned sequence:

1. Check the DTC memory. Refer to => [ Diagnostic Mode 03 - Read DTC Memory ] Diagnostic Modes 01 - 09.

2. If necessary, erase the DTC memory. Refer to => [ Diagnostic Mode 04 - Erase DTC Memory ] Diagnostic Modes 01 - 09.

3. If the DTC memory was erased, generate readiness code. Refer to => [ Readiness Code ] Readiness Code.