Operation CHARM: Car repair manuals for everyone.
Manuals through 2025 now available!

Our trusted friends have launched a new website named LEMON, which has newer manuals. It also contains all the CHARM manuals.

LEMON is the spiritual successor to CHARM, I recommend you try it!

Link: lemon-manuals.la or lemon-manuals.org.ua

(Some people have issue connecting. LEMON is investigating. For now, use Firefox or change your DNS server)

Or, hide this message: temporarily or permanently

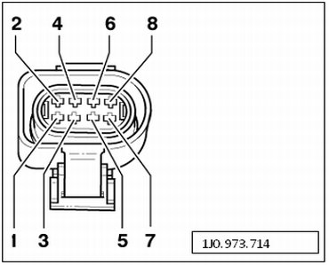
Transmission Fluid Temperature Sensor -G93- / Trans Input Speed Sensor -G182- / Trans Output Speed Sensor -G195-






Transmission Systems - Connector Views

Transmission fluid temperature sensor -G93- / Transmission input speed sensor -G182- / Transmission output speed sensor -G195-



09G, 09M Transmissions