Operation CHARM: Car repair manuals for everyone.
Manuals through 2025 now available!

Our trusted friends have launched a new website named LEMON, which has newer manuals. It also contains all the CHARM manuals.

LEMON is the spiritual successor to CHARM, I recommend you try it!

Link: lemon-manuals.la or lemon-manuals.org.ua

(Some people have issue connecting. LEMON is investigating. For now, use Firefox or change your DNS server)

Or, hide this message: temporarily or permanently

Engine Speed (RPM) Sensor, Checking



Engine Speed (RPM) Sensor, Checking

Function
The Engine Speed (RPM) Sensor -G28- detects engine speed and reference marks. Without an engine speed signal, the engine will not start. If the engine speed signal fails while the engine is running, the engine will stop immediately.

Recommended special tools and equipment
- V.A.G 1526 multimeter or V.A.G 1715 multimeter
- V.A.G 1594 connector test kit
- Wiring diagram

Test requirements
- Fuses on E-box in engine compartment, left side, must be OK.

NOTE: Fuses on this fuse holder are labelled "SB" in the wiring diagram.







- Fuses on fuse holder in instrument panel, left side, must be OK.

NOTE: Fuses on this fuse holder are labelled "SC" in the wiring diagram.

- Ground (GND) connections between engine and chassis must be OK.
- Ignition switched off.

Test sequence
Observe safety precautions.
Observe rules for cleanliness.







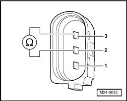
- Disconnect gray 3-pin harness connector (arrow) to Engine Speed (RPM) Sensor -G28-.

Checking resistance







- Check resistance between terminals 2 and 3 at connector to sensor.

Specified value: 730...1000 ohms

- Check sensor for short circuit between terminals 1 and 2 as well as 1 and 3.

Specified value: infinity ohms

If specified values are not obtained:
- Replace Engine Speed (RPM) Sensor -G28-:
- Replace sensor O-ring,
- Tightening torque of mounting bolt 10 Nm.

- Erase DTC memory of Engine Control Module (ECM), Diagnostic mode 4: Reset/erase diagnostic data. Diagnostic Mode 04 - Erase DTC Memory
- Generate readiness code. Monitors, Trips, Drive Cycles and Readiness Codes

If specified value is obtained:
- Check wires to Engine Control Module (ECM) according to wiring diagram.

Checking wires to Engine Control Module (ECM)
- Connect test box to 60-pin connector of wiring harness, connecting test box for wiring test. Test Box, Connecting For Wiring Test

Engine Control Module (ECM) is not connected.







- Check wires between test box and 3-pin connector to Engine Control Module (ECM) for open circuit according to wiring diagram.
Terminal 1 + socket 52
Terminal 2 + socket 51
Terminal 3 + socket 36

Wire resistance: max. 3.0 ohms

- Also check wires for short circuit to each other.

Specified value: infinity ohms

If no malfunctions are detected in the wires and the resistance value is OK:
- Remove sensor and check sensor wheel for secure fit, damage, and run-out.

If nothing seems to be wrong with the sensor wheel:
- Replace Engine Control Module (ECM) -J623-