Operation CHARM: Car repair manuals for everyone.
Manuals through 2025 now available!

Our trusted friends have launched a new website named LEMON, which has newer manuals. It also contains all the CHARM manuals.

LEMON is the spiritual successor to CHARM, I recommend you try it!

Link: lemon-manuals.la or lemon-manuals.org.ua

(Some people have issue connecting. LEMON is investigating. For now, use Firefox or change your DNS server)

Or, hide this message: temporarily or permanently

Air Flow Meter/Sensor: Testing and Inspection






Mass Air Flow Sensor, Checking

Special tools, testers and auxiliary items required

Multimeter.

wiring diagram

Use only gold-plated terminals when servicing terminals in harness connector of Mass Air Flow (MAF) Sensor (G70).

Test requirements

Fuse for Mass Air Flow (MAF) Sensor (G70) OK.

Battery voltage at least 12.5 volts.

All electrical consumers such as, lights and rear window defroster, switched off.

Vehicles with automatic transmission, shift selector lever into position " P" or "N".

A/C switched off.

Ground (GND) connections between engine/transmission/chassis OK.

Coolant Temperature at least 80° C.

Ignition switched off.

Test procedure

- Perform a preliminary check to verify the customers complaint. Refer to => [ Preliminary Check ] Preliminary Check.

Start diagnosis

Function test

- Connect the scan tool.

- Start engine and let it run at idle.

- Select "Diagnostic mode 1: Check measured values".

- Select measuring value "PID 16: Air stream amount at Mass Air Flow (MAF) sensor".

- Check specified value of air flow quantity at Mass Air Flow (MAF) Sensor (G70) at idle:





- End diagnosis and switch ignition off.

If specified value is obtained, but DTC memory has a DTC concerning Mass Air Flow (MAF) Sensor (G70):

- Check voltage supply of Mass Air Flow (MAF) Sensor (G70).

If specified value is not obtained:

- check sensor internal resistance:





- values obtained, continue diagnosis

- Values not obtained, replace sensor G70.

- Check wiring of Mass Air Flow (MAF) Sensor (G70 ).

Checking voltage supply

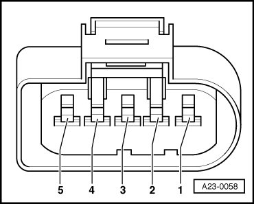
- Disconnect the electrical harness connector - 1 - from the Mass Air Flow (MAF) Sensor (G70).





- Start engine and let it run at idle.

- Using a Multimeter, check the Mass Air Flow (MAF) Sensor (G70) electrical connector terminal 2 to engine Ground (GND) for voltage.





Specified value: battery voltage

- Switch ignition off.

If the specified value is not obtained:

- Check the electrical harness connector for damage, corrosion, loose or broken terminals.

- Check wiring between Mass Air Flow (MAF) Sensor ( G70) electrical connector terminal 2 and Engine Component Power Supply Relay (J682) for an open circuit.

Specified resistance 1.5 ohms max.

If the specification is not obtained:

- Check the wiring for a short circuit to Battery positive (+) or an open circuit.

Checking wiring

- Using a Multimeter, check the following wiring connection for an open circuit.









Specified resistance 1.5 ohms max.

If the specification is not obtained:

- Check the wiring for a short circuit to Battery positive (+) or an open circuit.

- If necessary, repair the wiring connection.

If no malfunctions are found in the wiring:

- Replace Mass Air Flow (MAF) Sensor (G70).

- Erase the DTC memory. Refer to => [ Diagnostic Mode 04 - Erase DTC Memory ] Diagnostic Mode 04 - Erase DTC Memory

- Perform a road test to verify repair.

If the DTC does not return:

Repair complete, Generate readiness code. Refer to => [ Readiness Code ] Readiness Code.

- End diagnosis.

If the DTC does return and no malfunction is detected in the wiring and the voltage supply was OK:

- Replace the Motronic Engine Control Module (ECM) (J623). Refer to => [ Motronic Engine Control Module, Replacing ] Motronic Engine Control Module, Replacing.

Final procedures

After the repair work, the following work steps must be performed in the following sequence:

1. Check the DTC memory. Refer to => [ Diagnostic Mode 03 - Read DTC Memory ] Diagnostic Mode 03 - Read DTC Memory.

2. If necessary, erase the DTC memory. Refer to => [ Diagnostic Mode 04 - Erase DTC Memory ] Diagnostic Mode 04 - Erase DTC Memory.

3. If the DTC memory was erased, generate readiness code. Refer to => [ Readiness Code, Setting ] Readiness Code, Setting.

End of Diagnosis.