Operation CHARM: Car repair manuals for everyone.
Manuals through 2025 now available!

Our trusted friends have launched a new website named LEMON, which has newer manuals. It also contains all the CHARM manuals.

LEMON is the spiritual successor to CHARM, I recommend you try it!

Link: lemon-manuals.la or lemon-manuals.org.ua

(Some people have issue connecting. LEMON is investigating. For now, use Firefox or change your DNS server)

Or, hide this message: temporarily or permanently

Bendix

TESTING PROCEDURE:

NOTE: While trouble shooting, always check the wiring, fuses and connectors for good condition and routing. Use the wiring diagrams found in CHASSIS ELECTRICAL DIAGRAMS to supplement your testing efforts.

Color Code Legend:





Checking ECU Ground Connections:





1. Turn ignition OFF.
2. Access fuel injection ECU by removing the passenger side kick panel and glove compartment.
3. Check fuel injection ECU ground connections. They should make good contact and fit tight.

Removing ECU Connector:





4. Remove fuse #1 (located in central electric unit behind ash tray) to interrupt the power supply. Then remove the ECU connector by pressing up the latch and folding out the wire cluster.

Removing Protective Sleeve:





5. Remove connector protective sleeve and reinstall fuse #1 for testing.
CAUTION: ^ Never check connections from the front. Connectors can get damaged and worsen the problem.
^ Check connections through the holes in the connector.
^ Connection pin numbers are printed on the connector side.

Checking System Relay:





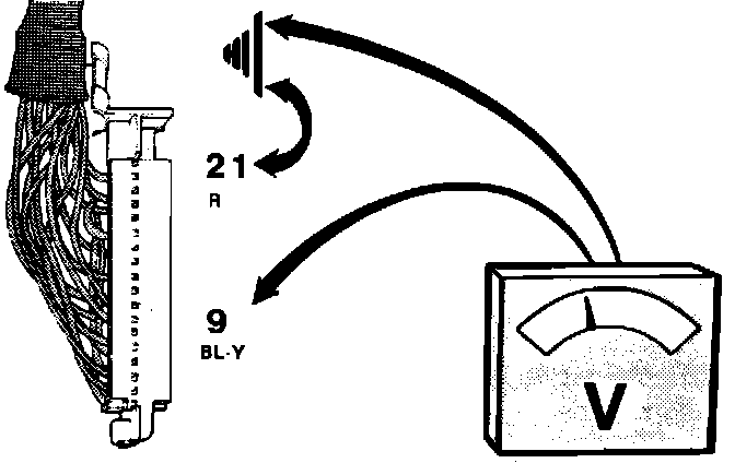
6. To check the system relay (located in central electric unit behind ash tray), connect a voltmeter between ground and ECU connector pin 9.
7. Connect a lead between ground and ECU connector pin 21. The relay should now close and the voltmeter should show:

Reading: approx. 12 volts

If reading is low or no voltage, check fuse #1 (located in central electric unit behind ash tray), battery, wiring to battery and connectors.
a. If fault found, repair as needed and retest.
b. If no fault found, proceed with next step.

Checking Fuel Pump Relay In System Relay:





8. Check fuel pump relay (part of system relay) by connecting a lead between ground and pin 20 of the fuel injection ECU connector.
9. Voltmeter must be connected between pin 9 and ground.
10. Pump relay should close and run fuel pumps.
a. If fuel pumps start operating, relay is O.K.. Proceed with step 11.
b. If fuel pumps don't run, check relay wiring, fuses and fuel pump wiring and connectors. Repair or replace as necessary.
If wiring, fuses and connectors are in good condition, replace system relay and retest.

Checking Voltage At Post Connector:





11. Connect the voltmeter between ground and #8 connection in 25 terminal connector located at right A-post.

Reading: approx. 12 volts

If reading is different, check fuse #11 (located in central electric unit behind ash tray) and wiring between fuse #11 and 25 terminal connector. Repair as needed.
12. Disconnect voltmeter and leads from pins 9, 20 and 21.

Reconnecting The ECU Connector:





13. Remove the #1 fuse and reconnect the ECU connector. Ensure that the rubber seal in the connector is installed before it is connected to the ECU.
14. Reinstall the #1 fuse.
15. Erase fault codes and test drive vehicle. Recheck for fault codes.