Operation CHARM: Car repair manuals for everyone.
Manuals through 2025 now available!

Our trusted friends have launched a new website named LEMON, which has newer manuals. It also contains all the CHARM manuals.

LEMON is the spiritual successor to CHARM, I recommend you try it!

Link: lemon-manuals.la or lemon-manuals.org.ua

(Some people have issue connecting. LEMON is investigating. For now, use Firefox or change your DNS server)

Or, hide this message: temporarily or permanently

Cruise Control: Locations

Cruise Control Components:




Component Locations

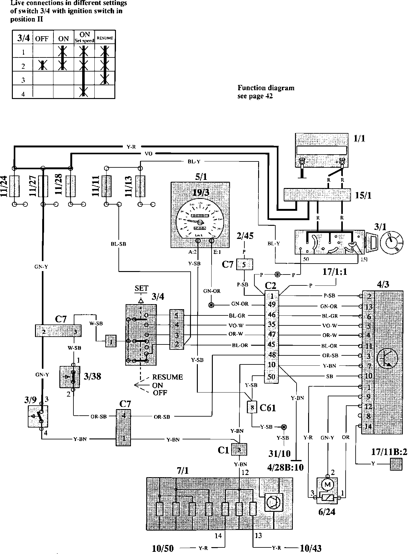
Cruise Control Wiring:




Wiring Diagram

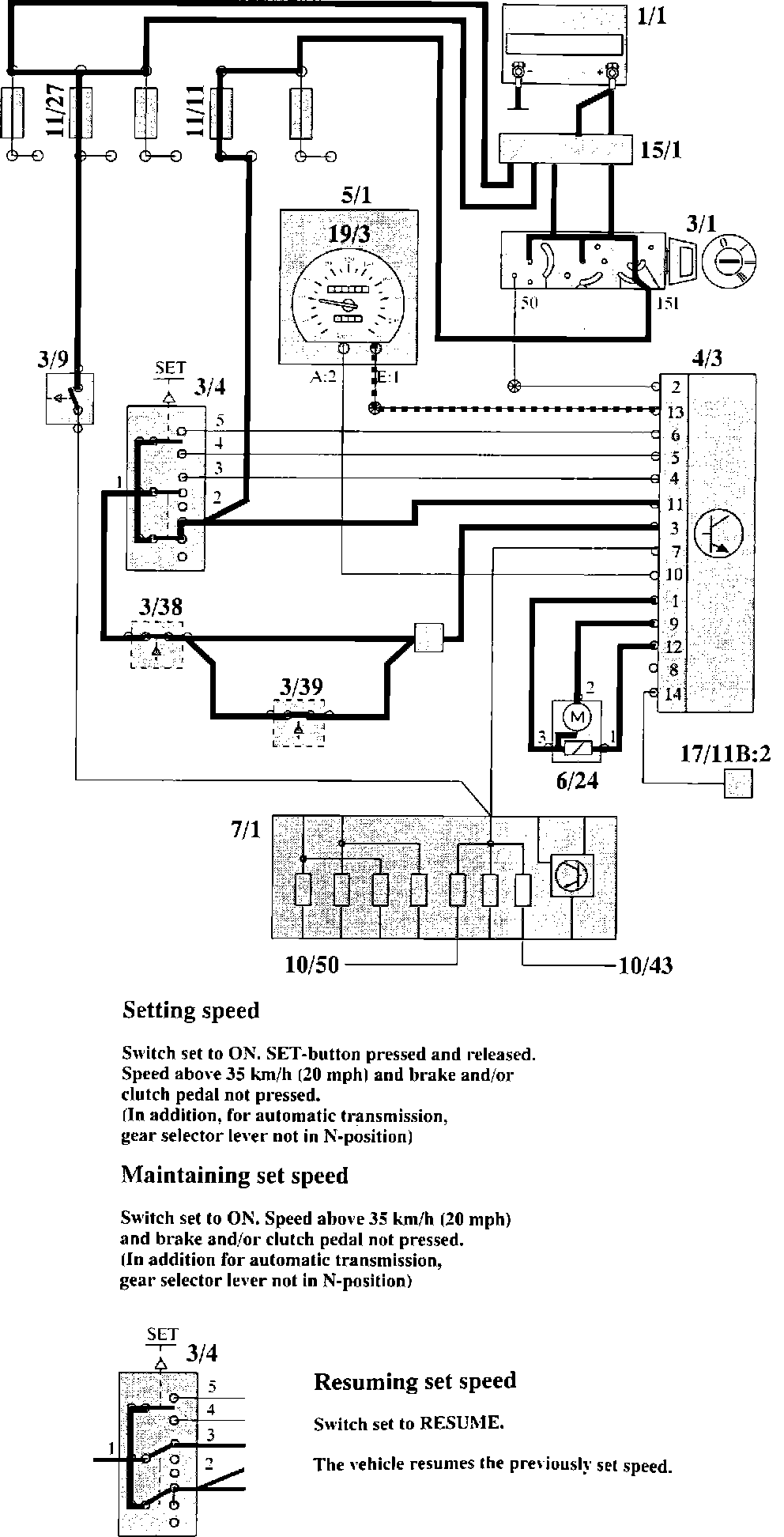
Cruise Control Function (1 of 4):




Cruise Control Function (2 of 4):




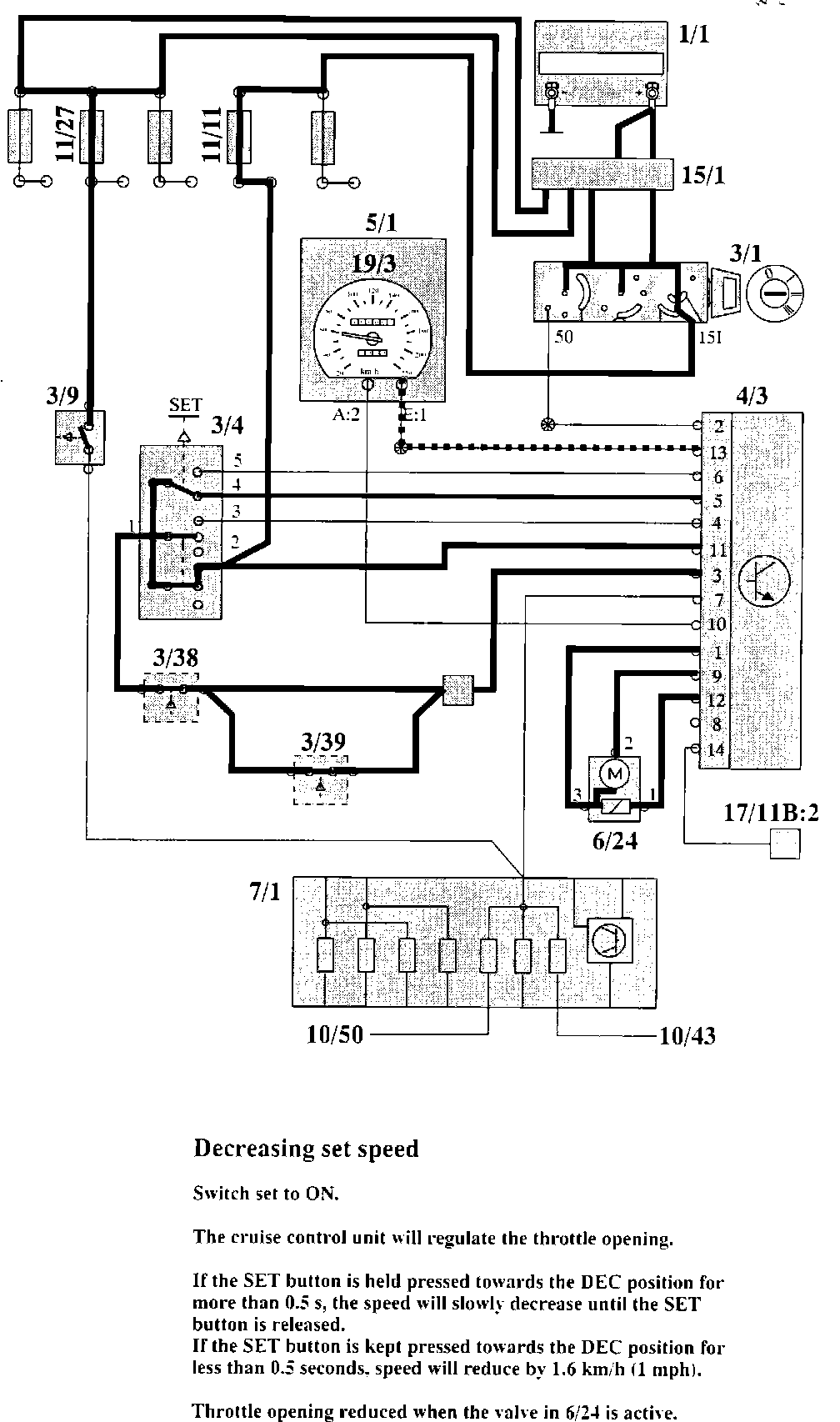
Cruise Control Function (3 of 4):




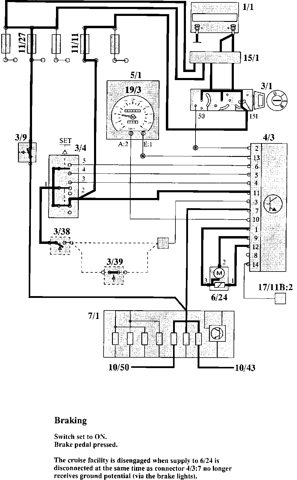
Cruise Control Function (4 of 4):




Function