Operation CHARM: Car repair manuals for everyone.
Manuals through 2025 now available!

Our trusted friends have launched a new website named LEMON, which has newer manuals. It also contains all the CHARM manuals.

LEMON is the spiritual successor to CHARM, I recommend you try it!

Link: lemon-manuals.la or lemon-manuals.org.ua

(Some people have issue connecting. LEMON is investigating. For now, use Firefox or change your DNS server)

Or, hide this message: temporarily or permanently

Ignition Lock Cable: Service and Repair


Removal Of Cable
- Disconnect battery ground lead.





- Remove panel/knee bolster under instrument panel.





- Remove:
steering wheel adjusting lever
steering column covers





- Remove:
ashtray
centre console screws in storage compartment and at front end
console panel screws
cover under parking brake lever
- Loosen panel connectors and remove panel from centre console.
- Move gear selector lever to position P Turn ignition key to position I or II.





- Disconnect cable from ignition switch.
- Use snipe-nose pliers to press in cable locking tabs and withdraw cable.





- Remove cable adjuster locking clip at gear selector lever end.
- Ensure that lever is in position P. Raise edge of rubber strip around gear lever and unhook cable from lever arm.
- Remove cable. Note how cable is run.

Installation

- Thread new cable carefully under wiring harnesses
- Connect cable adjuster at gear selector lever end.
- Install locking clip.
- Ensure that gear selector lever is in position P.
- Press in locking tab on cable end so that cable can be hooked more easily onto lever arm in gear selector unit. Release locking tab.

Note: Ensure that ball on cable end is properly seated.

- Move gear selector lever to any position other than P.





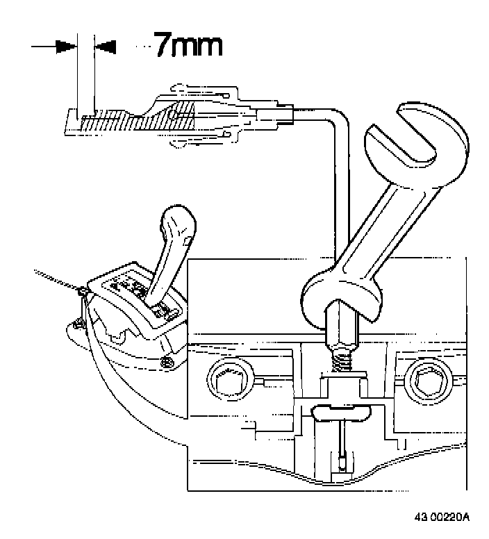
- Adjust cable at lever end until clearance between locking tabs at ignition switch end is approx. 7 mm as illustrated.
Move gear selector lever to position P. Check that clearance between cable and gear lever arm at selector end is approx. 0.5 mm.





- Thread cable through knee bolster bracket and over bolster as illustrated.





- Turn ignition key to position I or II.
- Press cable into position in ignition switch.
- Ensure that locking tabs are securely engaged.

Checking Key Lock Function
- Move gear selector lever to position P





- Ignition key should be easily removable from ignition switch
- If key cannot be removed, cable is too short. Adjust cable sleeve at gear selector lever end until key can be removed easily.
- Move gear selector lever to position other than P.





- Ignition key should not be removable from switch.
- If key can be removed, cable is too long. Adjust cable sleeve at gear lever end until key cannot be removed.
- Check shift lock override function.





- Move gear selector lever to position P and turn ignition key to position I or II.
- Press override button. Lever should now be movable from position P.
- Return lever to position P and remove ignition key.
- Press override button. It should now be impossible to move lever from position P. Override function should operate only when ignition key is in position I or II.





- Install/Reconnect:
center console panel and console
ashtray
steering column covers
steering wheel adjusting lever
panel/knee bolster under instrument panel
battery ground lead