Operation CHARM: Car repair manuals for everyone.
Manuals through 2025 now available!

Our trusted friends have launched a new website named LEMON, which has newer manuals. It also contains all the CHARM manuals.

LEMON is the spiritual successor to CHARM, I recommend you try it!

Link: lemon-manuals.la or lemon-manuals.org.ua

(Some people have issue connecting. LEMON is investigating. For now, use Firefox or change your DNS server)

Or, hide this message: temporarily or permanently

Checking/Adjusting Tracking


To check the tracking correctly:
- the car must be unloaded. (the level in the fuel tank makes no difference).
- Check the tire pressures.

Jack front end of car up.



- Jack the wheel arms up as close to the ball joints as possible.

Check front end for play



- Check for play in the following:
- the steering gear housing and the track rod joints
- the wheel bearings
- the top spring mountings
- the ball joints and suspension arm bearing bushes.
- If there is any play in any of the components above, this must be dealt with first. See the section of this manual concerned.

Setting up test equipment



- Set up and calibrate equipment as appropriate.
- Put the rolling plates underneath the front wheels, Use rolling plates which can absorb lateral movement.
Note! the car must be horizontal for measuring camber and caster properly.
- Move the front end up and down hard a few times when the car is lowered on the rolling plates. This is needed to restore the front end to its normal position.

Checking wheel alignment



1. Checking camber
- Check the camber on both sides.
- Should be: 0° ± 1°. The camber between the LH and RH wheels must not differ by more than 40'.
2. Checking caster
- Check the caster on both sides. Should be: -3° 12' ± 1°.
- The caster between the RH and LH wheel must not differ by more than 40'.
3. Checking KPI
- Check the KPI on both sides. Should be: 12° 41' ± 1°.
- The KPI between the RH and LH wheels must not differ by more than 40'.

Correcting alignment



- Undo the axle stub bolts
- Position the suspension.
- Tighten the bolts and re-check.
- Tighten the stub axle bolts to 90 Nm.
Caution If the tracking is still out of limits, replace the defective or damaged component.

Toe-in test values (both wheels) Wheel alignment



- Check with the vehicle unladen



1.) The maximum permitted difference between the left and right-hand wheels is 40'.
2.) Measure and adjust the camber before adjusting the toe in (Rear side)
- Adjust the wheel alignment to specification if measured values are outside the tolerance range.

Control adjust values for toe-in
- Measure the difference between the front and rear edge of the wheels at A-a, B-b or C-c



1.) (alpha) is Toe-in degrees measurement per wheel.
2.) Set the camber first. The settings for the left and right wheels must be the same.
- Measure the angle at the height of the hub or the differences between the front and rear edges of the wheels at A, B or C.

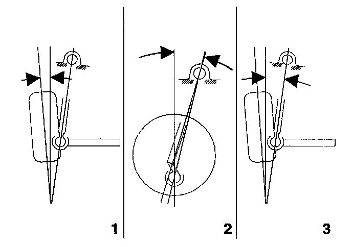
Adjusting toe-in



- Undo the locknut
- Adjust the toe-in by turning the tie rods.
- Settings: see table above.
- Torque setting, locknuts: 42 Nm.
- Treat the screw threads on the rods with anti-rust agent, Volvo P/N 1161432-8, once these have been tightened Make sure that the rubber sleeve is sitting straight.
Note! The difference in length between the two tie rods must not be more than 2 mm. Measure this between the edge of the screw thread and the locknut.

Adjusting steering wheel position
If it is slightly skew, this will be adjusted by adjusting the toe-in as above If the steering wheel is at more of an angle; first adjust the steering wheel as per Removing/installing steering wheel column.