Operation CHARM: Car repair manuals for everyone.
Manuals through 2025 now available!

Our trusted friends have launched a new website named LEMON, which has newer manuals. It also contains all the CHARM manuals.

LEMON is the spiritual successor to CHARM, I recommend you try it!

Link: lemon-manuals.la or lemon-manuals.org.ua

(Some people have issue connecting. LEMON is investigating. For now, use Firefox or change your DNS server)

Or, hide this message: temporarily or permanently

Navigation System Portable












Navigation system portable











































INTRODUCTION
- NOTE! Read through the whole installation instruction before starting the work.
- The illustrations display the procedure in order of operation. The order of operation is repeated in the text section.






Navigation system portable

Note! For information about the GARMIN unit see www.garmin.com.

Note! Some steps in these installation instructions are presented with illustration only.

Assembling the holder

Note! Take care when handling the components, they are fragile and are easily damaged.




- Take out the three bolts M5x25 part.no. 986957 and nuts from the kit.
- In order to avoid too much resistance when the nuts on the cradle are tightened, secure the bolt and run the nut on and off of the thread on the bolt. Do this with all the nuts and bolts.




- Take special tool 9814104 (torx driver, torx 6), and unscrew the two screws holding the connector in the holder.
- Carefully push the connector to one side with the cable to expose the bottom of the holder.




- Take the kit with the four spacers from the installation kit.
Carefully pry off the spacer using P/N 31212552. The part number (1) is on the bottom of the spacer.




- Take the three screws and insert them in the spacer fully.




- Apply pieces of butyl tape to the screws so that the screw heads do not protrude outside the spacer when installing it.

Illustration A




- Install the spacer in the bottom of the holder.

Illustration B




- Ensure that the holder's two screw turrets align between the small pins in the oblong holes in the spacer. A click should be heard when the spacer is securely in position.




- Place the connector in the bottom of the hole. The guide hole (1) in the connector's circuit board must align in the corresponding pin at the bottom of the holder and the holes (2) in the circuit board must be over the holder's screw turret.




- Take the small torx screws and carefully tighten the connector to the holder. Ensure that the connector's circuit board is properly against the screw turret and that there is no play.
- Remove the butyl tape from the screws.

Preparations




- Turn the ignition key to position 0.

Note! Wait at least three minutes before unplugging the connectors or removing other electrical equipment.




- Detach the panel (1) with the gear selector lever boot using a weatherstrip tool.
- Move the gear selector lever to its rearmost position.




- Pull the panel (1) with boot rearward and turn as illustrated.
- Remove the screws (2) from the dashboard environment panel.




- Angle the dashboard environment panel outwards so that it is possible to insert a couple of fingers between the tunnel console and the reverse of the panel.
- Detach the dashboard environment panel by pulling it downwards while maintaining the same angle. Some force is required because the panel is tightly installed.
- Disconnect the white connector to the 12 V outlet at the rear and move the climate panel to the side.

Note! If any of the outer hooks break off, these must be repaired. The method for this can be found in VIDA in the section about the dashboard.




- Turn the clip (1) a quarter turn anti-clockwise.
- Pull the panel out by the rear edge.
- Then pull the panel backwards until the hooks release.
- Remove the panel.




- Remove the screws and sound proofing bracket.




- Open the glovebox.
- Lift the two hooks on each side past the lugs.
- Detach the gas struts by pulling straight out.





Remove:
- the ten screws.
- the connectors to the glove compartment lighting and the courtesy lighting
- the glove box.

Illustrations A and B




- Using the template, cut out roughly as shown in figure B.










Caution! Exercise care when positioning and taping the template onto the loudspeaker grille. Too much deviation will result in the holes coming in such a position that tightening from the underside of the dashboard is not possible.

- Tape the template over the loudspeaker grille.




- Attach a piece of cloth to the air duct and the airbag so that the chips do not enter the dashboard.




- Mark the holes in the centre using a scriber.
- Pre-drill the holes according to the template using a -5 mm (13/64") bit. Use a 15 mm (19/32") drill stop. Drill square to the dashboard where the holes are located.

Illustration A




- Take a -14 mm (9/16") hole saw. Replace the centre drill in the hole saw with a -5 mm (13/64") drill. The hole in the centre drill's arbor is greater than the diameter of the drill, however wind some tape around the drill so that it sits firmly in the hole. Do not lock the centre drill with the locking screw. The drill is only used to guide the hole saw as the hole in the underside of the dashboard must not be greater than -5 mm (13/64").

Illustration B




- Use a 9 mm (23/64") drill stop.
- Drill for the cradle's three feet.

Note! Only drill through the uppermost layer of vinyl and the layer of foam, not through the layer of plastic (1) on the underside of the dashboard otherwise the hole will be too large for the nuts, which are tightened from underneath.




- Use a -25 mm (1/2") hole saw. Change the centre drill in the hole saw back to the original centre drill.
- Drill for the connection to the connector. Drill through all the layers of the dashboard. Use a 25 mm (1") drill stop.




- Use a small screwdriver to clear any chips from the three small holes so that the lower plastic layer is free of chips.




- Remove the paper with chips.

Installation




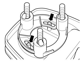
- Remove the cradle from the kit and insert the three stud bolts through the holes in the dashboard's plastic base.




- Take the three nuts and secure the cradle on the dashboard.




- Take a wire spiral and insert in the inlet below the radio and out on the right-hand side of the centre console.




- Used the long cable harness from the kit. Tape the small connector and a piece of the cable to the wire spiral.
- Pull the cable harness so that the connectors and fuse holder are positioned in the area for the climate panel.

Note! Route the cable harness so that there is no risk of wear.




- Take foam tape from the kit and remove the protective tape.




- Wrap foam tape around the fuse holder to prevent rattling.




- Connect the connector (1) that has been disconnected from the 12 V outlet to the female connector (2) on the routed cable.
- Connect the remaining connector to the 12 V outlet.




- Now insert the lose connectors and fuse holder in the area below the climate panel.
















- Remove the short connection cable from the kit and connect to the routed cable harness.




- Connect the large connector to the connector on the underside of the cradle.




- Pull out any surplus cable from the centre console and secure the cable harness using butyl tape to the plastic reinforcement on the dashboard.
- Wind up the remaining surplus cable together with the connectors and secure with a cable tie to the glove compartment lighting cable harness.




- Connect the connectors to the glove compartment lighting and the courtesy lighting.