Threads
Threads
Note! As the illustrations in this service information are used for different model years and / or models, some variation may occur. However, the essential information in the illustrations is always correct.
Thread inserts, general
Damaged threads can in most cases be reconditioned using HELICOIL thread inserts.
Thread inserts are available in a variety of sizes, pitches and lengths. A correctly reconditioned thread will generally increase the strength of a joint.
Designation of thread insert
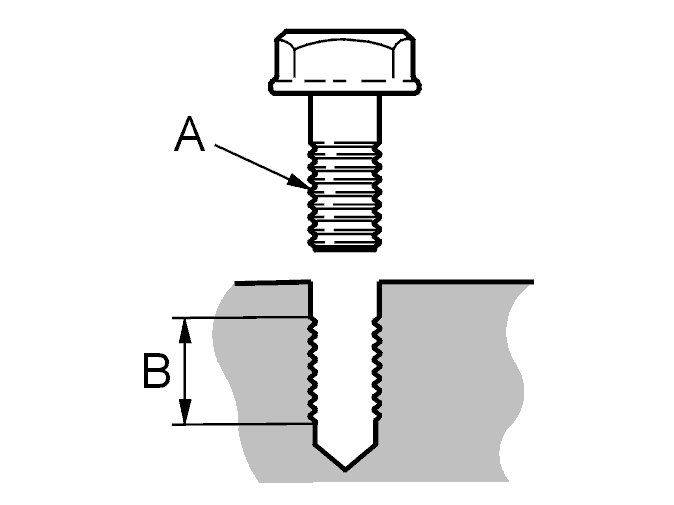
Measure the old threads and thread length in the hole.
A: Thread.
B: Thread length.
Drilling and tapping new thread in the hole
Drill out the old threads using the correct diameter drill bit. Blow the hole clean.
Tap the new thread using the correct tap.
Note! The thread taps referred to in the text are specially made for use with the HELI-COIL system.
Use methylated spirit or similar to lubricate the threading operation in aluminium. Thread longer threads in stages, backing out the tap and blowing the tap and the hole clean in between.
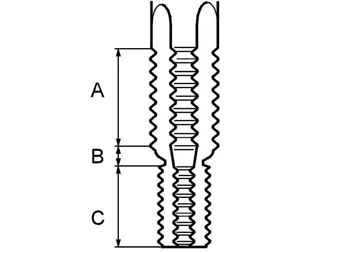
Thread the hole to the proper depth (or through if it is to be threaded throughout).
C: drill depth.
D: cutting phase.
Tools required for installation
The installation tool (illustrated) is used for threads M6 - M14. During some operations the tool must be disassembled by removing the locking ring, for example with countersunk threads.
For threads M16 and larger the specific tool for each thread size must be used The guide and mandrel are included.
Installing the thread insert in the installation tool
Locate the thread insert with the tang facing down in the tool.
Turn the spindle until the tang engages in the recess.
Screw the thread insert into the guide, do not apply pressure, until the first turn of the thread insert is flush with the guide opening.
A: Tang.
B: Guide.
C: Mandrel.
Installation of thread insert
Hold the installation tool straight above and centered over the hole. Screw in the insert without applying pressure on the spindle handle. Screw in until the end of the insert reaches at least half a thread revolution into the thread.
The insert must not touch the bottom of the hole or stick out of the other side if it is a through hole.
Break off the tang with the proper tang breaker. For M14 threads and coarser, use a pair of flat-nosed pliers or similar and break downwards.
Extraction of damaged thread insert
Alternative 1
File a notch in the thread insert, about a quarter turn in from the end. Do not file through the insert.
Note! Do not damage the thread in the material.
Use a triangular scraper or similar to extract the insert by rotating it.
Alternative 2
Carefully expose the end of the thread insert. Use flat-nose pliers to pull the thread insert out.
Clean out the threads in the hole using the thread tap and blow clean.
Install a new thread insert.
Reconditioning sparkplug threads
Note! Reconditioning of spark plug threads must be carried out with removed cylinder head.
Tapping thread in sparkplug hole
Use combination tap 998 5823-5 and thread repair inserts for spark plug thread M14x1,25.
Note! Do not drill out spark plug threads.
Combined tap
A: Tap.
B: Reamer.
C: Steering.
Installation of thread insert
There are times when the cap nut cannot be used because of space restrictions. On these occasions the guide should be taped into place.
Note! As the thread insert for the spark plug thread is thinner (finer) than usual it is extra important to not pressure on the pin when inserting the thread insert (both in the nozzle and the material).
Twist the thread insert down and check that the upper thread is at least a half thread down into the thread and that none of the insert protrudes into the combustion chamber.
If the insert has been screwed in too far it must be turned until it is all the way through. If it is not deformed it can be inserted again.
Break off the tang with a pair of flat nose pliers. Check the thread. Install a sparkplug.
Thread table
Threads which must not be reconditioned
Coolant outlet for the drain nipple, heat exchanger / oil cooler.
Plug hole for crankshaft setting.
Screw holes for cylinder head screws.