Operation CHARM: Car repair manuals for everyone.
Manuals through 2025 now available!

Our trusted friends have launched a new website named LEMON, which has newer manuals. It also contains all the CHARM manuals.

LEMON is the spiritual successor to CHARM, I recommend you try it!

Link: lemon-manuals.la or lemon-manuals.org.ua

(Some people have issue connecting. LEMON is investigating. For now, use Firefox or change your DNS server)

Or, hide this message: temporarily or permanently

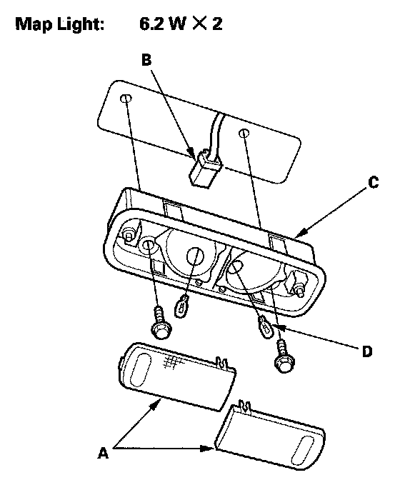
Rear Individual MAP Light Test/Replacement

Rear Individual Map Light Test/Replacement
1. Turn the ceiling light switch OFF.




2. Carefully pry off the lens (A) with a small screwdriver.
3. Remove the two mounting screws.
4. Disconnect the 3P connector (B) from the housing (C).
5. Check for continuity between the terminals.
- There should be continuity between the No. 1 and No. 3 terminals with the left switch ON.
- There should be continuity between the No. 1 and No. 2 terminals with the right switch ON.

6. If the continuity is not as specified, check the bulb(s) (D). If the bulbs are OK, replace the light.
7. Install in the reverse order of removal.