Operation CHARM: Car repair manuals for everyone.
Manuals through 2025 now available!

Our trusted friends have launched a new website named LEMON, which has newer manuals. It also contains all the CHARM manuals.

LEMON is the spiritual successor to CHARM, I recommend you try it!

Link: lemon-manuals.la or lemon-manuals.org.ua

(Some people have issue connecting. LEMON is investigating. For now, use Firefox or change your DNS server)

Or, hide this message: temporarily or permanently

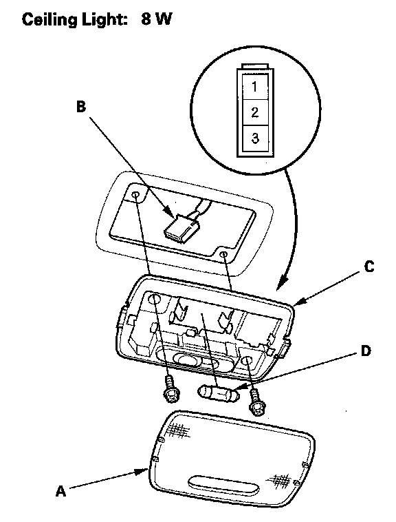
Rear Ceiling Light Test/Replacement

Rear Ceiling Light Test/Replacement
1. Turn the light switch OFF.




2. Carefully pry off the lens (A) with a small screwdriver.
3. Remove the two mounting screws.
4. Disconnect the 3P connector (B) from the housing (C).
5. Check for continuity between the terminals in each switch position according to the table.
- There should be continuity between the No. 2 and No. 3 terminals with the switch in the MIDDLE position.
- There should be continuity between the No. 2 and No. 1 terminals with the switch in the ON position.

6. If the continuity is not as specified, check the bulb (D). If the bulb is OK, replace the light.