Operation CHARM: Car repair manuals for everyone.
Manuals through 2025 now available!

Our trusted friends have launched a new website named LEMON, which has newer manuals. It also contains all the CHARM manuals.

LEMON is the spiritual successor to CHARM, I recommend you try it!

Link: lemon-manuals.la or lemon-manuals.org.ua

(Some people have issue connecting. LEMON is investigating. For now, use Firefox or change your DNS server)

Or, hide this message: temporarily or permanently

Ignition Switch: Service and Repair

Ignition Switch

Replacement
SRS components are located in the area. Review the SRS component locations and precautions and procedures before performing repairs or servicing.

1. Make sure you have the anti-theft code for the audio and navigation system (if equipped).
2. Disconnect the negative battery cable.
3. Remove the steering column covers.




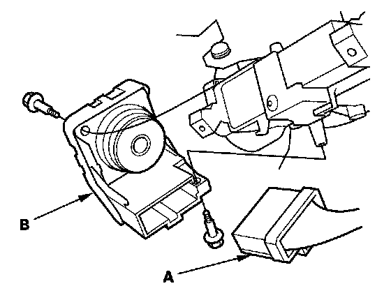
4. Disconnect the 7P connector (A) from the ignition switch (B).
5. Remove the two screws and the ignition switch.
6. Install in the reverse order of removal.
7. After reconnecting the battery, enter the audio and navigation system anti-theft codes, and set the clock.