Operation CHARM: Car repair manuals for everyone.
Manuals through 2025 now available!

Our trusted friends have launched a new website named LEMON, which has newer manuals. It also contains all the CHARM manuals.

LEMON is the spiritual successor to CHARM, I recommend you try it!

Link: lemon-manuals.la or lemon-manuals.org.ua

(Some people have issue connecting. LEMON is investigating. For now, use Firefox or change your DNS server)

Or, hide this message: temporarily or permanently

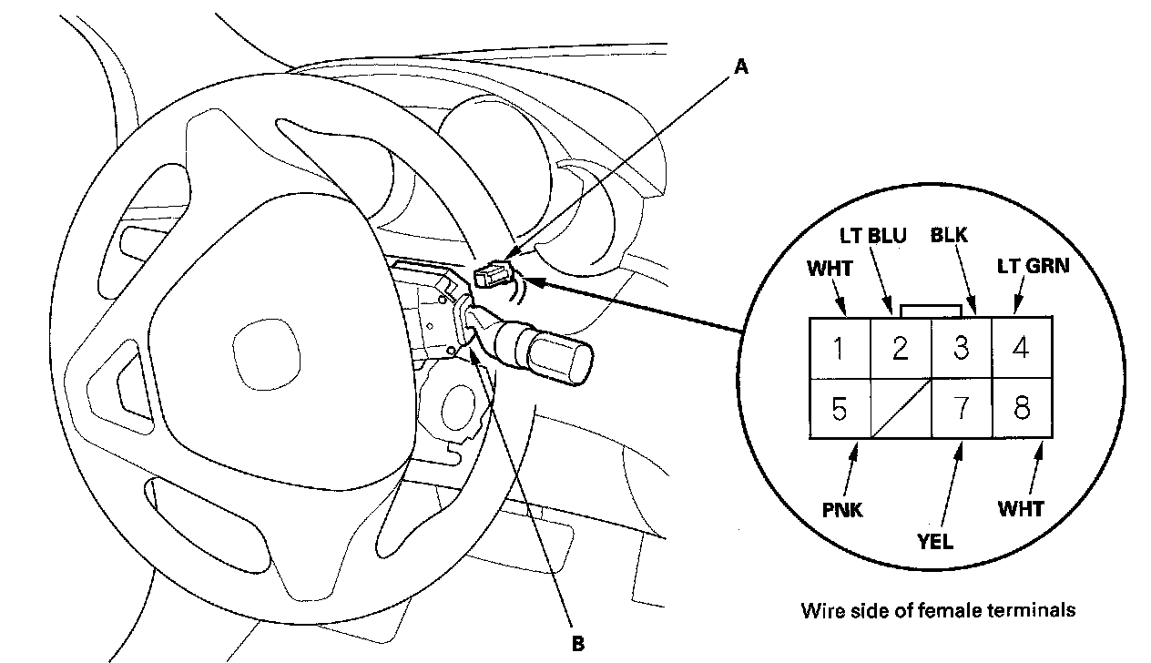
Wiper/Washer Switch (Combination Switch Control Unit) Input Test

Wiper/Washer Switch (Combination Switch Control Unit) Input Test

NOTE: Before testing, troubleshoot the B-CAN System Diagnosis Test Mode A.

1. Remove the dashboard lower cover.
2. Remove the steering column covers.




3. Disconnect the 8P connector (A) from the wiper/washer switch (B).
4. Inspect the connector and socket terminals to be sure they are all making good contact.
- If the terminals are bent, loose or corroded, repair them as necessary, and recheck the system.
- If the terminals look OK, go to step 5.




5. With the connector still disconnected, make these input tests at the connector.
- If any test indicates a problem, find and correct the cause, then recheck the system.
- If all the input tests prove OK, go to step 6.




6. Reconnect the 8P connector to the wiper/washer switch, and make these input tests at the connector.
- If any test indicates a problem, find and correct the cause, then recheck the system.
- If all the input tests prove OK, replace the wiper/washer switch (combination switch control unit).