Operation CHARM: Car repair manuals for everyone.
Manuals through 2025 now available!

Our trusted friends have launched a new website named LEMON, which has newer manuals. It also contains all the CHARM manuals.

LEMON is the spiritual successor to CHARM, I recommend you try it!

Link: lemon-manuals.la or lemon-manuals.org.ua

(Some people have issue connecting. LEMON is investigating. For now, use Firefox or change your DNS server)

Or, hide this message: temporarily or permanently

Cam Chain Installation

Cam Chain Installation

NOTE:
^ Keep the cam chain away from magnetic fields.
^ Before this procedure, check that the variable valve timing control (VTC) actuator is locked by turning the VTC actuator counterclockwise. If not locked, turn the VTC actuator clockwise until it stops, then recheck it. If it is still not locked, replace the VTC actuator.

1. Set the crankshaft to top dead center (TDC). Align the TDC mark (A) on the crankshaft sprocket with the pointer (B) on the engine block.





2. Set the camshafts to TDC. The punch mark (A) on the variable valve timing control (VTC) actuator and the punch mark (B) on the exhaust camshaft sprocket should be at the top. Align the TDC marks (C) on the VTC actuator and exhaust camshaft sprocket.





3. To hold the intake camshaft, insert a change detent arm shaft (P/N 24635-P6H-003) (A) into the maintenance hole in the camshaft position (CMP) pulse plate A (B) and through the No. 5 rocker shaft holder (C).





4. To hold the exhaust camshaft, insert a change detent arm shaft (P/N 24635-P6H-003) (A) into the maintenance hole in the camshaft position (CMP) pulse plate B (D) and through the No. 5 rocker shaft holder ((C).
5. Install the cam chain on the crankshaft sprocket with the center of the two colored link plates (A) aligned with the mark (B) on the crankshaft sprocket.





6. Install the cam chain on the VTC actuator and the exhaust camshaft sprocket with the punch marks (A) aligned with the center of the three colored link plates (B).





7. Install the cam chain guide A and tensioner arm (B).





8. Install the auto-tensioner.





9. Install the cam chain guide B.





10. Remove the pin or lock pin (P/N 14511-PNA-003) from the auto-tensioner.





11. Remove the change detent arm shafts (P/N 24635-P6H-003).





12. Check the chain case oil seal for damage. If the oil seal is damaged, replace the chain case oil seal.
13. Remove all of the old liquid gasket from the chain case mating surfaces, bolts, and bolt holes.
14. Clean, and dry the chain case mating surfaces.
15. Apply liquid gasket, P/N 08717-0004, 08718-0001, 08718-0003, or 08718-0009, evenly to the engine block mating surface of the chain case. Install the component within 5 minutes of applying the liquid gasket.

NOTE:
^ If you apply liquid gasket P/N 08718-0012, the component must be install within 4 minutes.
^ If too much time has passed after applying the liquid gasket, remove the old liquid gasket and residue, then reapply new liquid gasket.





16. Apply liquid gasket to the engine block upper surface contact areas (A) on the chain case and lower block upper surface contact areas (B) on the chain case.
17. Apply liquid gasket, P/N 08717-0004, 08718-0001, 087180003, or 08718-0009, evenly to the oil pan mating surface of the chain case. Install the component within 5 minutes of applying the liquid gasket.

NOTE:
^ If you apply liquid gasket P/N 08718-0012, the component must be install within 4 minutes.
^ If too much time has passed after applying the liquid gasket, remove the old liquid gasket and residue, then reapply new liquid gasket.





18. Install the new O-ring (A) on the chain case. Set the edge of the chain case (B) to the edge of the oil pan (C), then install the chain case on the engine block (D). Wipe off the excess liquid gasket on the oil pan and chain case mating area.

NOTE:
^ When installing the chain case, do not slide the bottom surface onto the oil pan mounting surface.
^ Wait at least 30 minutes before filling the engine with oil.
^ Do not run the engine for at least 3 hours after installing the chain case.





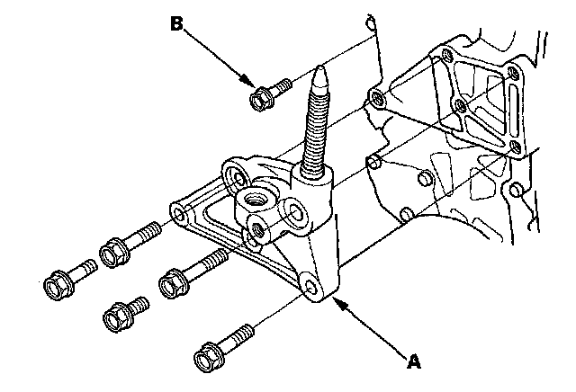
19. Install the side engine mount bracket (A), then install the water bypass pipe mounting bolt (B).





20. Install the side engine mount bracket (A), then loosely tighten the new bolt and nut (B), and loosely tighten the bolt (C).





21. Install the ground cable (D).
22. Remove the air cleaner housing assembly.
23. Loosen the transmission mounting bolt and nuts (A).





24. Raise the lift to full height.
25. Loosen the lower torque rod mounting bolt (A).





26. Lower the vehicle on the lift.
27. Tighten the side engine mount mounting bolts and nut.





28. Tighten the transmission mounting bolt and nuts.





29. Raise the lift to full height.
30. Tighten the lower torque rod mounting bolt.





31. Lower the vehicle on the lift.
32. Install the air cleaner housing assembly.
33. Install the upper torque rod (A) and torque rod stiffener (B), and tighten the new stiffener mounting bolts (C), then tighten the new upper torque rod mounting bolts in the numbered sequence shown.





34. Install the crankshaft pulley.
35. Install the variable valve timing control (VTC) oil control solenoid valve.
36. Install the cylinder head cover.
37. Install the drive belt.
38. Do the CKP pattern clear/CKP learn procedure.