Operation CHARM: Car repair manuals for everyone.
Manuals through 2025 now available!

Our trusted friends have launched a new website named LEMON, which has newer manuals. It also contains all the CHARM manuals.

LEMON is the spiritual successor to CHARM, I recommend you try it!

Link: lemon-manuals.la or lemon-manuals.org.ua

(Some people have issue connecting. LEMON is investigating. For now, use Firefox or change your DNS server)

Or, hide this message: temporarily or permanently

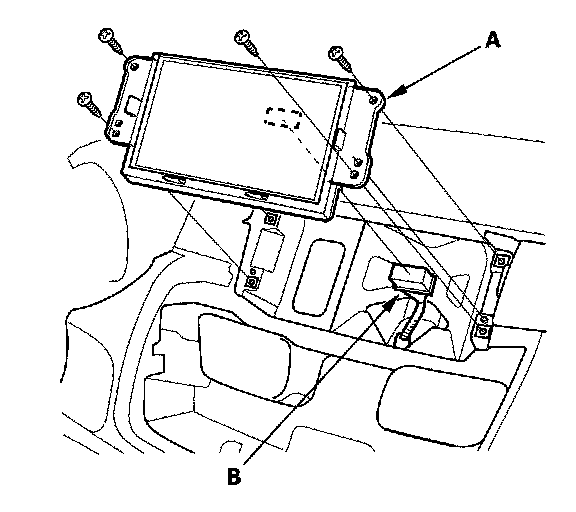
Audio-HVAC Display Unit Removal/Installation

Audio-HVAC Display Unit Removal/Installation

(without navigation)

NOTE:
- Put on gloves to protect your hands.
- Take care not to scratch the dashboard.

1. Remove the center panel.




2. Remove the screws, then pull out the audio-HVAC display unit (A).
3. Disconnect the connector (B) and remove the audio-HVAC display unit.
4. Install the audio-HVAC display unit in the reverse order of removal.