Operation CHARM: Car repair manuals for everyone.
Manuals through 2025 now available!

Our trusted friends have launched a new website named LEMON, which has newer manuals. It also contains all the CHARM manuals.

LEMON is the spiritual successor to CHARM, I recommend you try it!

Link: lemon-manuals.la or lemon-manuals.org.ua

(Some people have issue connecting. LEMON is investigating. For now, use Firefox or change your DNS server)

Or, hide this message: temporarily or permanently

Fluid - Differential: Service and Repair

Rear Differential Fluid Inspection and Replacement

Inspection
1. Park the vehicle on level ground, and turn the ignition switch to LOCK (0).
2. Use solvent and a brush to wash any oil and dirt off the differential fluid inspection oil filter plugs.
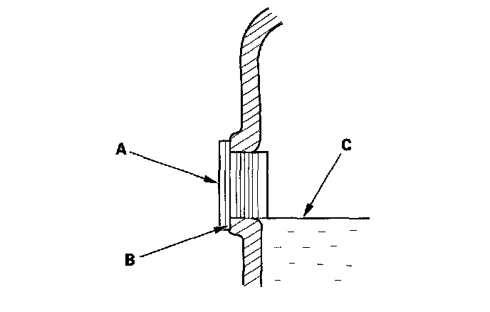
3. Remove the filler plug (A) and the sealing washer (B), then check the condition of the fluid, and make sure the fluid is at the proper level (C).





4. The fluid level must reach up the bottom of the filler plug hole. If it is below the hole, add the recommended fluid until it runs out, then reinstall the filler plug with a new sealing washer.

Replacement
1. Park the vehicle on level ground, and turn the ignition switch to LOCK (0).
2. Remove the filler plug (A) and the sealing washer (B).





3. Remove the drain plug (C) and the sealing washer (D), and drain the fluid.
4. Reinstall the drain plug with a new sealing washer (D).
5. Add fluid until it reaches the bottom of the filler plug hole.
6. Reinstall the filler plug with a new sealing washer.