Operation CHARM: Car repair manuals for everyone.
Manuals through 2025 now available!

Our trusted friends have launched a new website named LEMON, which has newer manuals. It also contains all the CHARM manuals.

LEMON is the spiritual successor to CHARM, I recommend you try it!

Link: lemon-manuals.la or lemon-manuals.org.ua

(Some people have issue connecting. LEMON is investigating. For now, use Firefox or change your DNS server)

Or, hide this message: temporarily or permanently

Power and Ground Distribution: Testing and Inspection




Power Relay Test

Use this chart to identify the type of relay, then do the test listed for it.




Normally-open type

Check for continuity between the terminals.

- There should be continuity between the No.1 and No.2 terminals when battery positive terminal is connected to the No.4 terminal, and battery negative terminal is connected to the No.3 terminal.
- There should be no continuity between the No.1 and No.2 terminals when power is disconnected.




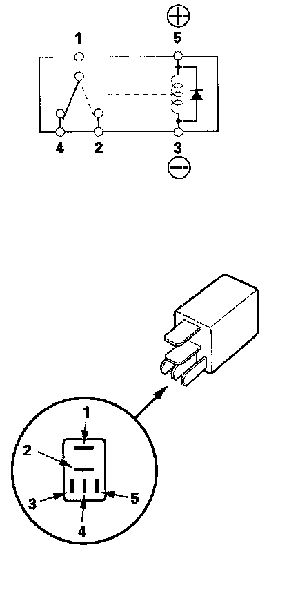
Five-terminal type

Check for continuity between the terminals.

- There should be continuity between the No.1 and No.2 terminals when battery positive terminal is connected to the No.5 terminal, and battery negative terminal is connected to the No. :3 terminal.
- There should be continuity between the No.1 and No.4 terminals when power is disconnected.