Operation CHARM: Car repair manuals for everyone.
Manuals through 2025 now available!

Our trusted friends have launched a new website named LEMON, which has newer manuals. It also contains all the CHARM manuals.

LEMON is the spiritual successor to CHARM, I recommend you try it!

Link: lemon-manuals.la or lemon-manuals.org.ua

(Some people have issue connecting. LEMON is investigating. For now, use Firefox or change your DNS server)

Or, hide this message: temporarily or permanently

Quarter Window Glass: Service and Repair

Quarter Glass Replacement

NOTE:
- Put on gloves to protect your hands.
- Wear eye protection when removing the glass with piano wire.
- Use seat covers to avoid damaging any surfaces.

1. Remove these items.
- Cargo area side trim panel
- Quarter pillar trim.




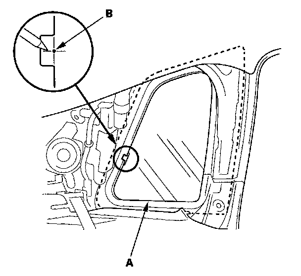
2. Remove the front seal (A) and molding quarter seal (B) from the front edge of the quarter glass (C). If necessary, cut the seals with a utility knife.
3. Apply protective tape along the inside and outside edges of the body. Using an awl, make a hole through the adhesive from inside the vehicle. Push a piece of piano wire through the hole, and wrap each end around a piece of wood.







4. With a helper on the outside, pull the piano wire (A) back and forth in a sawing motion. Hold the piano wire as close to the quarter glass (B) as possible to prevent damage to the body, and carefully cut through the adhesive (C) around the entire quarter glass.
5. Carefully remove the quarter glass.
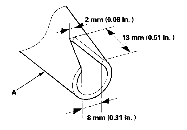
6. With a putty knife, scrape the old adhesive smooth to a thickness of about 2 mm (0.08 in.) on the bonding surface around the entire quarter glass opening flange:
- Do not scrape down to the painted surface of the body; damaged paint will interfere with proper bonding.
- Remove the clips and fastener from the body.

7. Clean the body bonding surface with a sponge dampened in alcohol. After cleaning, keep oil, grease and water from getting on the surface.
8. If the old quarter glass is to be reinstalled, use a putty knife to scrape off all of the old adhesive, and clips from the quarter glass. Clean the inside face and the edge of the quarter glass with alcohol where new adhesive is to be applied. Make sure the bonding surface is kept free of water, oil and grease.




9. Set the quarter glass (A) in the opening, and center it. From inside the vehicle, make an alignment mark (B) to the quarter glass where the rear clip will be installed with a grease pencil. Be careful not to touch the glass where adhesive will be applied.
10. Remove the quarter glass.




11. Attach the upper clip (A), lower clip (B), and rear clip (C) with adhesive tape to the inside face of the quarter glass (D) as shown.
- Align the center of the rear clip with the alignment marks (E) you made in step 9.
- Be sure the clips line up with the alignment marks (F).
- Be careful not to touch the quarter glass where adhesive will be applied.




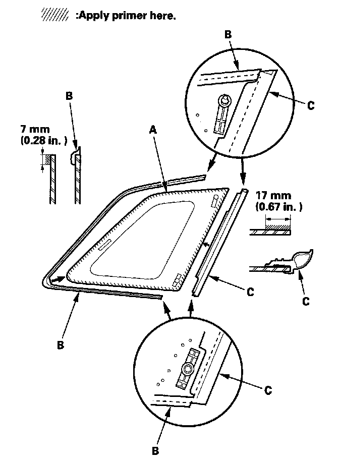
12. Apply primer to the edge of the quarter glass (A) where the molding quarter seal adhesive tape and front seal adhesive tape will be attached as shown. Be careful not to touch the quarter glass where adhesive will be applied.
13. Attach the molding quarter seal (B) and front seal (C) with adhesive tape to the inside face of the quarter glass.
- First glue the molding quarter seal to the rear corner portion of the quarter glass, then glue the upper and lower portions of the seal around the edge of the quarter glass. Be sure the upper end and lower end of the molding quarter seal contacts the front seal.
- Be careful not to touch the seals where adhesive will be applied.




14. With a sponge, apply a light coat of glass primer along the edge of the front seal (A) and molding (B) as shown, then lightly wipe it off with gauze or cheesecloth:
- With the printed dots (C) on the quarter glass (D) as a guide, apply the glass primer to the front portion of the quarter glass.
- Do not apply body primer to the quarter glass, and do not get body and glass primer sponges mixed up.
- Never touch the primed surfaces with your hands. If you do, the adhesive may not bond to the quarter glass properly, causing a leak after the quarter glass is installed.
- Keep water, dust, and abrasive materials away from primed surfaces.




15. With a sponge, carefully apply a light coat of body primer to any exposed paint or metal around the flange where new adhesive will be applied. Let the primer dry for at least 10 minutes:
- Do not apply body primer to any remaining original adhesive on the flange.
- Be careful not to mix up the body and glass primer sponges.
- Never touch the primed surfaces with your hands.




16. Cut a "V" in the end of the nozzle (A) on the adhesive cartridge as shown.




17. Pack adhesive into the cartridge without air pockets to ensure continuous delivery. Put the cartridge in a caulking gun, and run a bead of adhesive (A) along the seals (B) as shown. With the printed dots on the quarter glass (C) as a guide, apply the adhesive to the upper and lower corner portions of the quarter glass. Apply the adhesive within 30 minutes after applying the glass primer. Make a slightly thicker bead at each corner.




18. Use suction cups (A) to hold the quarter glass (B) over the opening, align it with the clips (C) and set it down on the adhesive. Lightly push on the quarter glass until its edges are fully seated on the adhesive all the way around.

NOTE: Do not open or close any of the doors for about an hour until the adhesive is dry.

19. Scrape or wipe the excess adhesive off with a putty knife or towel. To remove adhesive from a painted surface or the quarter glass, use a soft shop towel dampened with alcohol.
20. After the adhesive has dried, spray water over the quarter glass and check for leaks. Mark the leaking areas, let the quarter glass dry, then seal with sealant. Let the vehicle stand for at least 4 hours after quarter glass installation. If the vehicle has to be used within the first 4 hours, it must be driven slowly.
21. Reinstall all remaining removed parts.

NOTE: Advise the customer not to do the following things for 2 to 3 days:
- Slam the doors with all the windows rolled up.
- Twist the body excessively (such as when going in and out of driveways at an angle or driving over rough, uneven roads).