Operation CHARM: Car repair manuals for everyone.
Manuals through 2025 now available!

Our trusted friends have launched a new website named LEMON, which has newer manuals. It also contains all the CHARM manuals.

LEMON is the spiritual successor to CHARM, I recommend you try it!

Link: lemon-manuals.la or lemon-manuals.org.ua

(Some people have issue connecting. LEMON is investigating. For now, use Firefox or change your DNS server)

Or, hide this message: temporarily or permanently

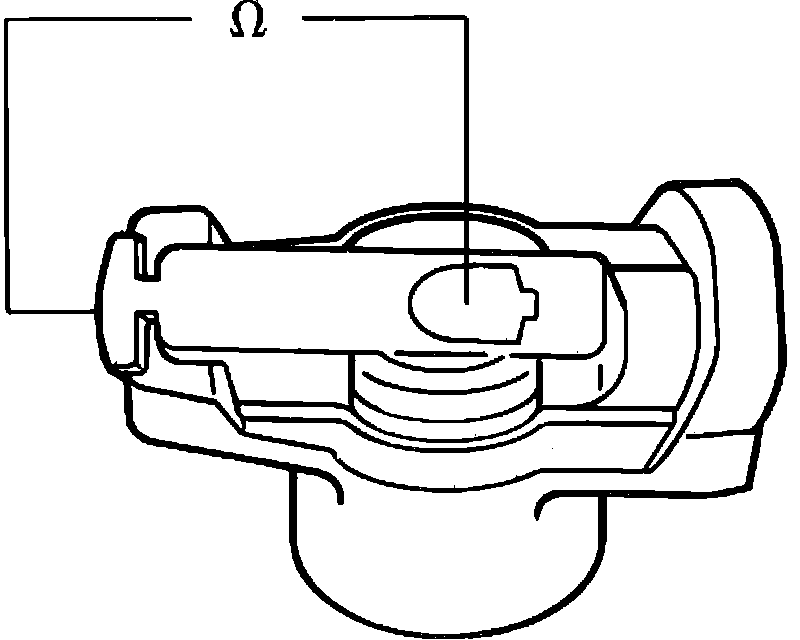
Ignition Rotor: Testing and Inspection

Ignition Rotor:





1. Check rotor for any signs of burning, or pitting:

a. at the tip
b. at the resistor (between the contact points)
c. at the center contact.

2. Replace the rotor if any signs are found.
3. Check the resistance between the contacts. Resistance should be 1000 +/- 400 ohms.


Note: Rotors for conventional (points type) ignition systems are very similar in size and shape to rotors for breakerless ignition systems, and will very often fit in breakerless distributors. A rotor for a conventional ignition system should never be used in a breakerless ignition system, though, because they are not designed to handle the higher voltages and will fail after a short time, possibly damaging the ignition system.