Operation CHARM: Car repair manuals for everyone.
Manuals through 2025 now available!

Our trusted friends have launched a new website named LEMON, which has newer manuals. It also contains all the CHARM manuals.

LEMON is the spiritual successor to CHARM, I recommend you try it!

Link: lemon-manuals.la or lemon-manuals.org.ua

(Some people have issue connecting. LEMON is investigating. For now, use Firefox or change your DNS server)

Or, hide this message: temporarily or permanently

Ignition Cable: Testing and Inspection

Fig. 16 Ignition Cable Resistance Test:





Coil Wire
With radio 2000 +/- 800 ohms
Without radio 0 ohms

Spark plug wires
With radio 6000 +/- 1400 ohms
Without radio 1000 +/- 400 ohms

If resistance is not within specification, check individual components.

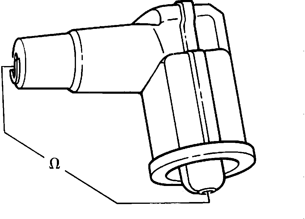
Fig. 17 Spark Plug Connector:






Spark plug connector
With radio 5000 +/- 1000 ohms
Without radio 1000 +/- 400 ohms

Fig. 18 Distributor Cap Connector:





Cap connector 1000 +/- 400 ohms

Ignition wire (no connectors) 0 ohms