Operation CHARM: Car repair manuals for everyone.
Manuals through 2025 now available!

Our trusted friends have launched a new website named LEMON, which has newer manuals. It also contains all the CHARM manuals.

LEMON is the spiritual successor to CHARM, I recommend you try it!

Link: lemon-manuals.la or lemon-manuals.org.ua

(Some people have issue connecting. LEMON is investigating. For now, use Firefox or change your DNS server)

Or, hide this message: temporarily or permanently

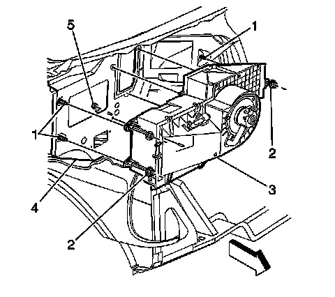
Housing Assembly HVAC: Service and Repair



Air Conditioning (A/C) Evaporator and Blower Module Assembly Replacement

Tools Required

J 39400-A Halogen Leak Detector

Removal Procedure

1. Recover the refrigerant from the A/C system. Refer to Refrigerant Recovery and Recharging.
2. Remove the coolant recovery reservoir.





3. Disconnect the low pressure sensor electrical connector (2).






4. Disconnect the blower motor assembly electrical connector.





5. Disconnect the blower motor resistor assembly electrical connector.





6. Remove the retaining nut (1) from the evaporator inlet tube.
7. Remove the evaporator inlet tube retaining screw.
8. Remove the evaporator inlet tube from the evaporator.
9. Remove the O-ring seal.





10. Remove the retaining nut (1) from the accumulator.
11. Remove the accumulator from the evaporator.
12. Remove the O-ring seal.





13. Remove the blower module assembly screws.
14. Remove the blower module assembly.
15. Remove the heater assembly.





16. Remove the module assembly nuts (5).
17. Remove the module assembly nuts (2).
18. Remove the module from the vehicle.

Installation Procedure

1. Install the module from the vehicle.






Notice: Refer to Fastener Notice.

2. Install the module assembly nuts (2).

Tighten the nuts to 6 N.m (53 lb in).

3. Install the module assembly nuts (5).

Tighten the nuts to 6 N.m (53 lb in).

4. Install the heater assembly.





5. Install the evaporator and blower module assembly.
6. Install the evaporator and blower module assembly retaining screws.
7. Install new O-ring seals.





8. Install the accumulator to the evaporator.
9. Install the accumulator retaining nut (1).

Tighten the nut to 18 N.m (13 lb ft).

10. Install the evaporator inlet tube to the evaporator.





11. Install the evaporator inlet tube retaining nut (1).

Tighten the nut to 16 N.m (12 lb ft).

12. Install the evaporator inlet tube retaining screw.





13. Connect the blower motor resistor assembly electrical connector.





14. Connect the blower motor assembly electrical connector.





15. Connect the low pressure sensor electrical connector (2).
16. Install the coolant recovery reservoir. Refer to Coolant Recovery Reservoir Replacement.
17. Evacuate and recharge the A/C system. Refer to Refrigerant Recovery and Recharging.
18. Leak test the fittings of the components using the J 39400-A.