Operation CHARM: Car repair manuals for everyone.
Manuals through 2025 now available!

Our trusted friends have launched a new website named LEMON, which has newer manuals. It also contains all the CHARM manuals.

LEMON is the spiritual successor to CHARM, I recommend you try it!

Link: lemon-manuals.la or lemon-manuals.org.ua

(Some people have issue connecting. LEMON is investigating. For now, use Firefox or change your DNS server)

Or, hide this message: temporarily or permanently

Frame Bracket Knock Out Removal

REMOVAL PROCEDURE

- Tools Required
- J 38794 Knockout Removal Tool

Important: As originally installed, the upper control arm cannot be adjusted for the caster or the camber. However, if the caster or the camber is measured and is out of tolerance, the caster and the camber can be set to the proper specifications.





1. Raise the vehicle.
2. Suitably support the vehicle.
3. Support the lower control arms with a jack or the jack stands.

Important: The jack or the jack stand must remain under the lower control arm during the removal and the installation procedure in order to retain the lower control arm position.

4. Remove the tire and the wheel assembly.
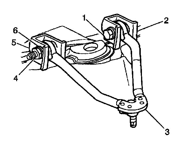
5. Remove the following parts from the upper control arm bracket (4):
- The nuts (6)
- The cams (5)
- The bolts (1)





6. Lift the upper control arm (3) up and to the side in order to gain access to the inner portion of the frame bracket.
- Use the J 38794 in order to remove the frame bracket knockout as follows:
- Do not distort the frame bracket when removing the knockout.
- Apply extreme pressure lubricant to the threads of the T-bolt.
- Insert the bolt through the knockout hole in the bracket support.
- Install the bridge onto the T-bolt.
The forward bracket requires the bridge to be installed between the legs of the bracket due to access problems.
7. Assemble the following parts in order:
7.1. The bridge
7.2. The bearing with the chamfered side out
7.3. The washer
7.4. The nut
- The T-bolt head and the bridge must line up horizontally with the knockout.
- The bridge should span the knockout without interfering with the knockout procedure.
- Tighten the T-bolt head against the knockout by turning the nut at the opposite end using a socket and torque wrench.

Notice: Do not subject the tool to more than 100 Nm (75 ft. lbs.) torque. Exceeding the recommended torque may damage the tool and/or the bracket.

- An open end wrench or adjustable wrench may be needed in order to prevent the T-bolt from losing the horizontal alignment with the knockout.
- If the torque limit on the T-bolt is met and the knockout does not break free, use a die grinder of appropriate size.
- Using the stamped outline as a guide, remove the knockout.
- Remove the wax coating in the knockout area in order to make the perforation fines more visible.
- If the outline is not visible, use the T-bolt head installed horizontally, as a template, and scribe the frame bracket.
- Repeat the procedure on the other upper control arm frame bracket.

INSTALLATION PROCEDURE





1. Install the upper control arm (3) into the frame brackets (2).
2. Install the bolts (1) and the cams (6) through the frame brackets (2) and through the control arm (3).
3. Install the cams (6) and the nuts (4). Install the cams with the radius toward the frame brackets.
4. Partially tighten the nut (4).
5. Install the front wheel assemblies.
6. Install the alignment machine heads.
7. Adjust the caster and the camber to the correct specifications by rotating the bolt head installed through the adjuster cam.
7.1. Tighten the front upper control arm nuts (4) to 190 Nm (140 ft. lbs.).
7.2. Tighten the rear upper control arm nuts to 190 Nm (140 left.).

Notice: Refer to Fastener Notice in Service Precautions.

Important: Verify alignment specifications before proceeding. Refer to Wheel Alignment Specifications.

8. Set the steering wheel on center with the wheels straight.
9. Loosen the adjuster sleeve nuts.
10. Adjust the toe-in.
- Tighten the tie rod adjuster sleeve nuts to 19 Nm (14 ft. lbs.).
11. Ensure that the clamps are properly positioned.
12. Recheck the alignment specifications.
13. Lower the vehicle.