Operation CHARM: Car repair manuals for everyone.
Manuals through 2025 now available!

Our trusted friends have launched a new website named LEMON, which has newer manuals. It also contains all the CHARM manuals.

LEMON is the spiritual successor to CHARM, I recommend you try it!

Link: lemon-manuals.la or lemon-manuals.org.ua

(Some people have issue connecting. LEMON is investigating. For now, use Firefox or change your DNS server)

Or, hide this message: temporarily or permanently

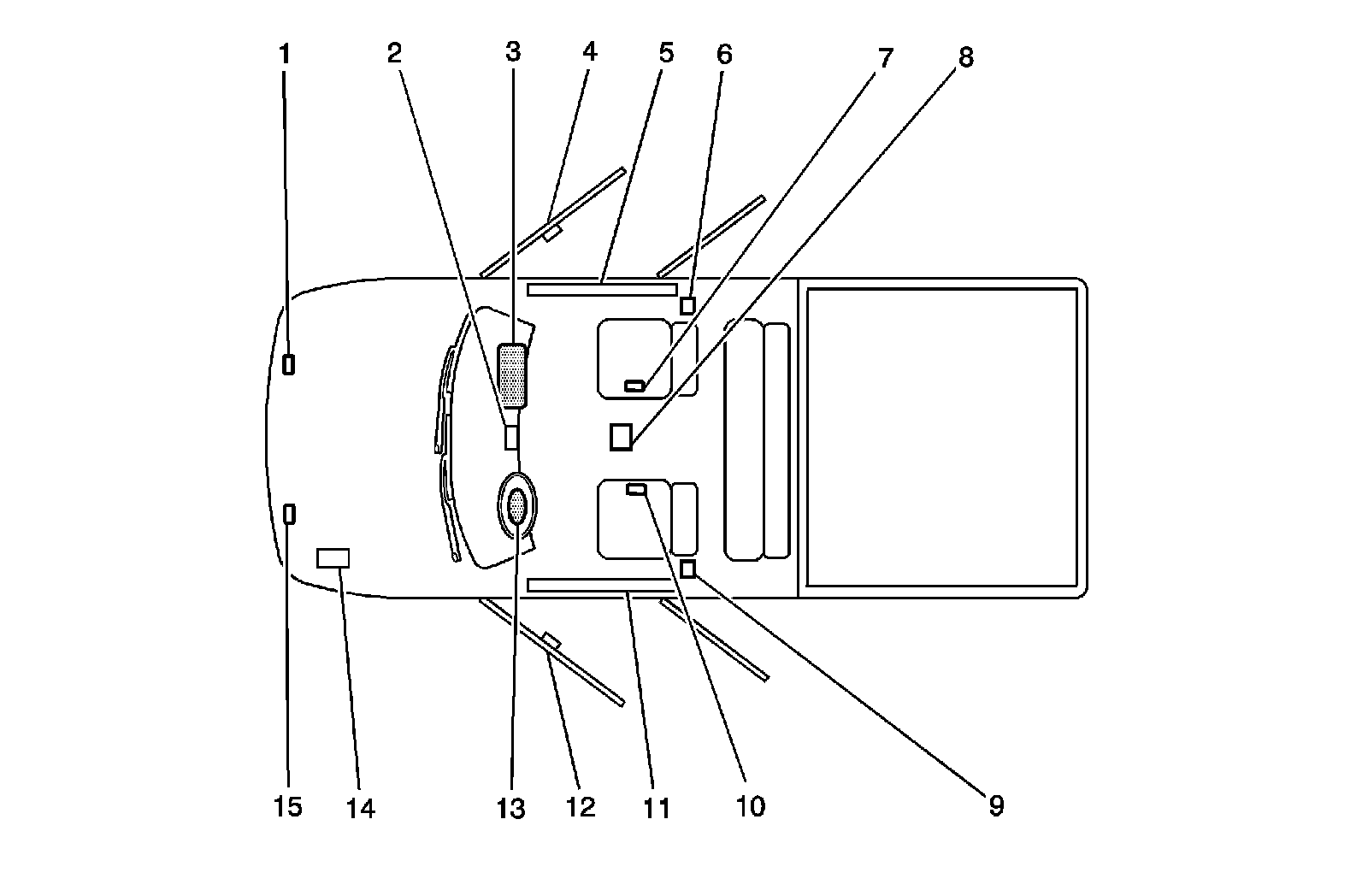
Air Bag Systems: Locations




SIR Identification Views

The SIR Identification Views shown below illustrate the approximate location of all SIR components available for the vehicle. Refer to SIR Disabling and Enabling (Service and Repair).

Colorado/Canyon




1 - Right Front Impact Sensor-Located on the front of the vehicle in the engine compartment
2 - Accessory Switch-Located in the Center of the I/P
3 - Passenger Instrument Panel Air Bag-Located at the top right under the instrument panel
4 - Right Front Side Impact Sensor (SIS)-Located under right front door trim near the lower rear of door frame
5 - Right Roof Rail Air Bag-Located in the headliner along roof rail
6 - Passenger Seat Belt Retractor Pretensioner-Located on the floor next to the right front seat
7 - Passenger Seat Position Switch-Located on the side of the right front seat
8 - Inflatable Restraint Sensing and Diagnostic Module (SDM)-Located under center floor console
9 - Driver Seat Belt Retractor Pretensioner-Located on the floor next to the left front seat
10 - Driver Seat Position Switch-Located on the side of the left front seat
11 - Left Roof Rail Air Bag-Located in the headliner along the roof rail
12 - Left Front Side Impact Sensor (SIS)-Located under left front door trim near the lower rear of door frame
13 - Driver Steering Wheel Air Bag-Located on the steering wheel
14 - Battery and Underhood Fuse Block-SIR Fuse-Located in engine compartment on left side
15 - Left Front Impact Sensor-Located on the front of the vehicle in the engine compartment