Operation CHARM: Car repair manuals for everyone.
Manuals through 2025 now available!

Our trusted friends have launched a new website named LEMON, which has newer manuals. It also contains all the CHARM manuals.

LEMON is the spiritual successor to CHARM, I recommend you try it!

Link: lemon-manuals.la or lemon-manuals.org.ua

(Some people have issue connecting. LEMON is investigating. For now, use Firefox or change your DNS server)

Or, hide this message: temporarily or permanently

Receiver Dryer: Service and Repair

Receiver/Dryer Desiccant Replacement

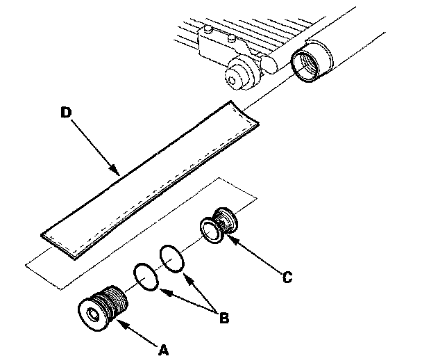
1. Remove the condenser.




2. Remove the cap (A) from the bottom of the condenser, then remove the O-rings (B), the filter (C) and the desiccant (D).
3. Install the desiccant in the reverse order of removal, and note these items:
- Replace the O-rings with new ones, and apply a thin coat of refrigerant oil (DENSO ND-OIL 8) before installing them. Be sure to use the correct O-rings for HFC-134a (R-134a) to avoid leakage.
- For condenser and A/C-related information, refer to condenser replacement.