System Specifications
GENERAL SPECIFICATIONS
OVERALL TORQUE SPECIFICATIONS
COMPONENT TIGHTENING SPECIFICATIONS WITH SEQUENCES
Intake Manifold
Intake Manifold Fasteners: 25 Nm (18 ft.lb)
RH Cylinder Head
CAUTION: Cylinder head bolts must be replaced with new bolts. They are tighten-to-yield designed and cannot be reused.
Install ten bolts and tighten in sequence in six stages:
^ Stage 1: Tighten to 37-43 Nm (28-31 ft.lb)
^ Stage 2: Tighten an additional 85°-95°
^ Stage 3: Loosen the bolts a minimum of one full turn (360°)
^ Stage 4: Tighten to 37-43 Nm (28-31 ft.lb)
^ Stage 5: Tighten an additional 85°-95°
^ Stage 6: Tighten an additional 85°-95°
LH Cylinder Head
CAUTION: Cylinder head bolts must be replaced with new bolts. They are tighten-to-yield designed and cannot be reused.
Install ten bolts and tighten in sequence in six stages:
^ Stage 1: Tighten to 37-43 Nm (28-31 ft.lb)
^ Stage 2: Tighten an additional 85°-95°
^ Stage 3: Loosen the bolts a minimum of one full turn (360°)
^ Stage 4: Tighten to 37-43 Nm (28-31 ft.lb)
^ Stage 5: Tighten an additional 85°-95°
^ Stage 6: Tighten an additional 85°-95°
Camshaft Bearing Caps
Camshaft Bearing Cap Fasteners: 8-12 Nm (71.4-107.1 in.lb)
Flex Plate
Tightening Torque: 73-87 Nm (54-64 ft.lb)
Exhaust Manifold
Exhaust manifold fasteners: 23-27 Nm (17-20 ft.lb)
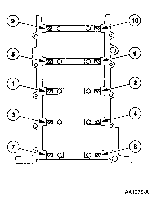
Crankshaft Main Bearing Cap
NOTE: The jack screws are a part of the main bearing cap assembly, and are screwed into the main caps, not the cylinder block.
Back out the jack screws against the cylinder block in two stages, in the sequence shown.
^ Stage 1: Tighten to 5 Nm (44.6 inch lbs.).
^ Stage 2: Tighten to 9-11 Nm (80-97 inch lbs.).
Install the bolts and tighten in two stages, in the sequence shown.
^ Stage 1: Tighten to 10 Nm (89.2 inch lbs.).
^ Stage 2: Tighten to 19-23 Nm (14-17 ft. lbs.).
Tighten the bolts in two stages, in the sequence shown.
^ Stage 1: Tighten to 40 Nm (30 ft. lbs.).
^ Stage 2: Tighten an additional 90 degrees.
Connecting Rod Bearing Caps
Tighten the bolts in two stages, in the sequence shown.
- Stage 1: Tighten to 40-45 Nm (30-33 ft. lbs.).
- Stage 2: Rotate an additional 90-120 degrees.
Camshaft Sprocket Bolt
Tightening Torque: 120 Nm (89 ft. lbs.)
Crankshaft Pulley
Tighten the bolts in four stages.
Stage 1: 90 Nm (66 ft. lbs.).
Stage 2: Loosen the bolt.
Stage 3: Tighten to 47-53 Nm (34-39 ft. lbs.).
Stage 4: Tighten an additional 85-90 degrees.