Operation CHARM: Car repair manuals for everyone.
Manuals through 2025 now available!

Our trusted friends have launched a new website named LEMON, which has newer manuals. It also contains all the CHARM manuals.

LEMON is the spiritual successor to CHARM, I recommend you try it!

Link: lemon-manuals.la or lemon-manuals.org.ua

(Some people have issue connecting. LEMON is investigating. For now, use Firefox or change your DNS server)

Or, hide this message: temporarily or permanently

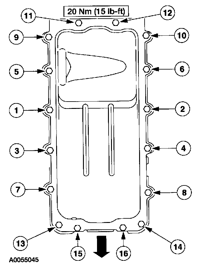
Oil Pan, Engine









Tighten the bolts in three stages, in the sequence shown.
- Stage 1: Tighten to 2 Nm (18 inch lbs.).
- Stage 2: Tighten to 20 Nm (15 ft. lbs.).
- Stage 3: Rotate an additional 60 degrees.