Operation CHARM: Car repair manuals for everyone.
Manuals through 2025 now available!

Our trusted friends have launched a new website named LEMON, which has newer manuals. It also contains all the CHARM manuals.

LEMON is the spiritual successor to CHARM, I recommend you try it!

Link: lemon-manuals.la or lemon-manuals.org.ua

(Some people have issue connecting. LEMON is investigating. For now, use Firefox or change your DNS server)

Or, hide this message: temporarily or permanently

Body and Frame: Service and Repair



Damaged Cage Nut Service

Tools Required

J 39580 Universal Engine Support Table


Removal Procedure





1. Install a J-39580J 39580 or a utility stand under the frame near the cage (crossmember) nut that you are replacing.
2. Remove and DISCARD the frame bolt.




3. If you are replacing the FRONT cage (crossmember) nut, remove the front impact bar in order to gain access. Refer to Front Bumper Impact Bar Replacement (Service and Repair) in Bumpers.
If you are replacing the REAR cage (crossmember) nut, perform the following steps in order to gain access

* Remove the carpet retainer. Refer to Door Sill Plate Replacement (Service and Repair) in Interior Trim.
* Pull back the carpet and the sound deadener in order to provide access to the floor pan sheet metal.
* Locate the area directly above the cage (crossmember) nut.





4. Use a cutoff wheel in order to cut a 100 mm (4 in) square access door.
5. Pry the access door open.




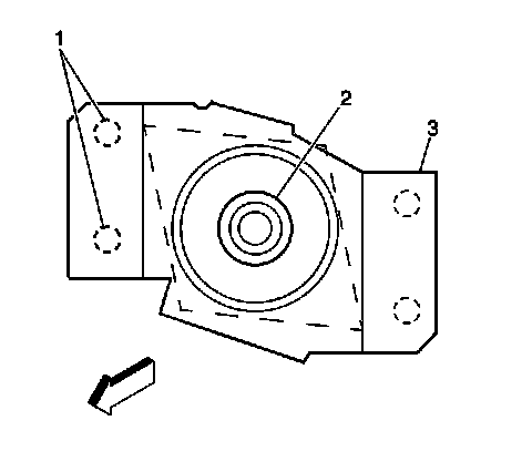
6. Use a chisel in order to break the spot welds (1) on one side of the frame crossmember nut retainer (3).
7. Lift one side of the frame crossmember nut retainer.
8. Remove the frame crossmember nut (2).



Installation Procedure





1. Install the frame crossmember nut (2).
2. Install and weld the frame crossmember nut retainer (3) to the original position.
3. Weld the frame crossmember nut retainer to the original position.
4. Clean the repair area.
5. Apply corrosion protection to the repair area. Refer to Anti-Corrosion Treatment and Repair () in Paint / Coatings.

Notice: Refer to Fastener Notice in Cautions and Notices.

6. If you are replacing the REAR cage (crossmember) nut, perform the following steps:

1. Pry the access door back to the original position.
2. Stitch weld the access door closed.
3. Use a grinder in order to remove any rough edges.
4. Apply the corrosion protection to the repair area. Refer to Anti-Corrosion Treatment and Repair () in Paint / Coatings.
5. Move the sound deadener and the carpet back to the original position.
6. Install the carpet retainer. Refer to Door Sill Plate Replacement (Service and Repair) in Interior Trim.
7. Install the NEW frame rear bolt.

Tighten the NEW frame REAR bolt to 160 N.m (118 lb ft).


7. If you are replacing the FRONT cage (crossmember) nut, perform the following steps:

1. install the NEW frame front bolt.

Tighten the NEW frame FRONT bolt to 160 N.m (118 lb ft).

2. Install the front impact bar. Refer to Front Bumper Impact Bar Replacement (Service and Repair) in Bumpers.

8. Remove the J-39580 or the utility stand.