Operation CHARM: Car repair manuals for everyone.
Manuals through 2025 now available!

Our trusted friends have launched a new website named LEMON, which has newer manuals. It also contains all the CHARM manuals.

LEMON is the spiritual successor to CHARM, I recommend you try it!

Link: lemon-manuals.la or lemon-manuals.org.ua

(Some people have issue connecting. LEMON is investigating. For now, use Firefox or change your DNS server)

Or, hide this message: temporarily or permanently

Fuel System Monitoring



.06.00.00 Fuel System Monitoring

.06.00.01 General Description

Mixture Pilot Control
The airflow sucked in by the engine and the engine speed is measured. These signals are used to calculate an injection signal. This mixture pilot control follows fast load and speed changes.

Lambda-controller
The ECM compares the Oxygen sensor signal upstream the catalyst with a reference value and calculates a correction factor for the pilot control.

.06.00.02 Monitoring function description

Adaptive pilot control
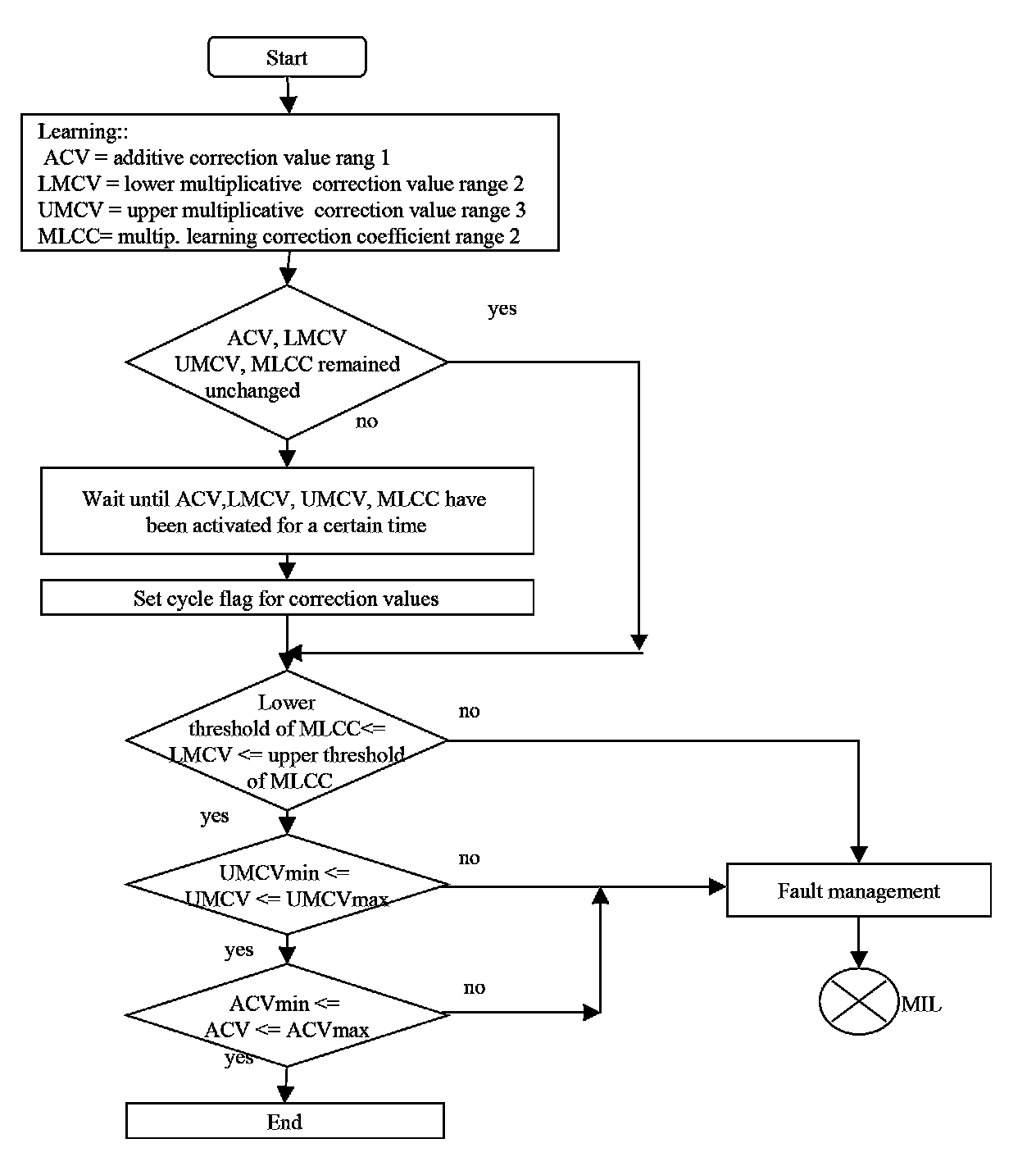
Drifts and faults in sensors and actuators of the fuel delivery system as well as unmeasured air leakage influence the pilot control. The controller corrects amplitudes increases. If there are different correction values needed in different load speed ranges, a certain time passes until the correction is complete. The correction values will be determined in three different ranges.

Fuel trim
The basic air/fuel ratio control using the signal from the front O2 sensors(s) is corrected by an adaptation calculation. This adaptation results in a factor, which is applicable for the whole working range. (e.g.20%)
A further trim control based on the signal(s) from the rear O2 sensor(s) is correcting the adaptation factor. Therefore this trim control is working in the same way in the whole range.
If the trim control reaches the allowed limit (e.g. 2%) the fault code for fuel delivery trim control is set.
Any deviation from the characteristic curve of oxygen sensor upstream catalyst due to poison will be detected by the control loop downstream catalyst.

.06.00.03 Chart(s) and flow chart(s)







Lambda deviations in range 1 are compensated by an additive correction value multiplied by an engine speed term. This creates an additive correction per time unit.
Lambda deviations in range 2 are compensated by multiplication of a factor.
Lambda deviations in range 3 are compensated by multiplication of a factor (optional depending on individual calibration).
A combination of all two (three) ranges will be correctly separated and compensated.
Each value is adapted in its corresponding range only. But each adaptive value corrects the pilot control within the whole load/speed range by using a linear interpolation formula. The stored adaptive values are included in the calculation of the pilot control just before the closed loop control is active.

Diagnosis of the fuel delivery system
Faults in the fuel delivery system can occur which cannot be compensated for by the adaptive pilot control.
In this case, the adaptive values exceed a predetermined range.
If the adaptive values exceed their plausible ranges, then the MIL is illuminated and the fault is stored.







Flow chart: Fuel trim